专利数据库
统计分析
产业报告
专利数据监控
产业人才
行业动态
产业政策法规
维权援助
个人中心
详情
文本
图像
标题
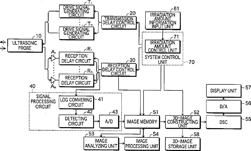
Ultrasonic diagnosing apparatus
授权日
1900-01-01
公开(公告)号
US20030181813A1
申请日
2003-03-17
公开(公告)日
2003-09-25
当前申请(专利权)人
FUJIFILM CORPORATION
发明人
OGAWA, EIJI
简单同族
US20030181813A1 | US6783495
简单同族成员数量
2
简单同族被引用专利总数
21
诉讼案件数
0
法律状态/事件
未缴年费 | 权利转移
抱歉,您的浏览器不支持PDF预览,请点击链接下载PDF文件