专利数据库
统计分析
产业报告
专利数据监控
产业人才
行业动态
产业政策法规
维权援助
个人中心
详情
文本
图像
标题
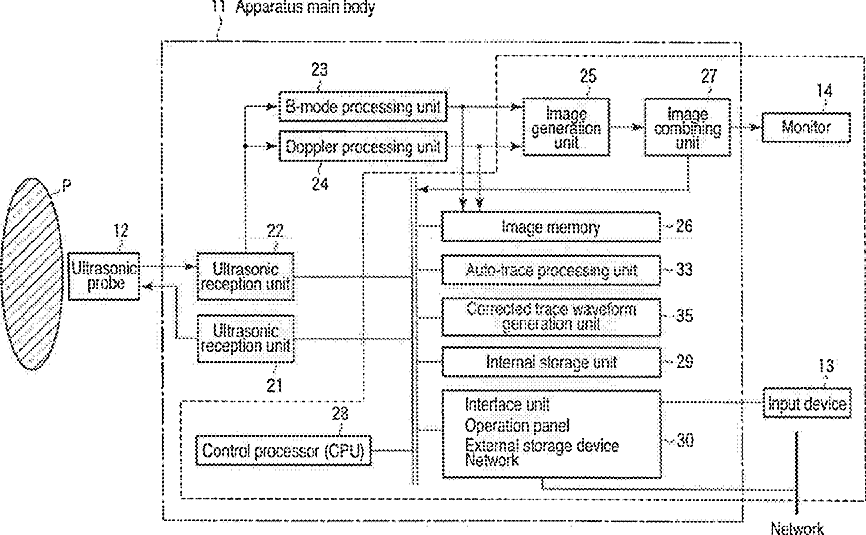
Ultrasonic diagnostic apparatus, doppler measurement apparatus, and doppler measurement method
授权日
1900-01-01
公开(公告)号
US20110230764A1
申请日
2011-06-01
公开(公告)日
2011-09-22
当前申请(专利权)人
TOSHIBA MEDICAL SYSTEMS CORPORATION
发明人
BABA, TATSURO | KAMIYAMA, NAOHISA | NAKAUCHI, SHOUICHI
简单同族
CN102238915A | CN102238915B | CN103431876A | CN103431876B | JP2010155073A | JP5566673B2 | US20110230764A1 | US8821401 | WO2010064663A1
简单同族成员数量
9
简单同族被引用专利总数
27
诉讼案件数
0
法律状态/事件
未缴年费 | 权利转移
抱歉,您的浏览器不支持PDF预览,请点击链接下载PDF文件