专利数据库
统计分析
产业报告
专利数据监控
产业人才
行业动态
产业政策法规
维权援助
个人中心
详情
文本
图像
标题
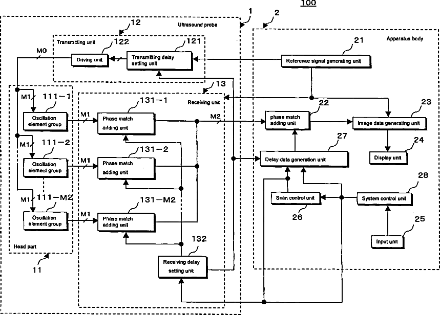
Ultrasound diagnostic apparatus and method for acquiring ultrasound data
授权日
1900-01-01
公开(公告)号
US20080234585A1
申请日
2008-03-24
公开(公告)日
2008-09-25
当前申请(专利权)人
TOSHIBA MEDICAL SYSTEMS CORPORATION
发明人
IWAMA, NOBUYUKI
简单同族
JP2008229096A | US20080234585A1 | US9354313
简单同族成员数量
3
简单同族被引用专利总数
19
诉讼案件数
0
法律状态/事件
授权 | 权利转移
抱歉,您的浏览器不支持PDF预览,请点击链接下载PDF文件