专利数据库
统计分析
产业报告
专利数据监控
产业人才
行业动态
产业政策法规
维权援助
个人中心
详情
文本
图像
标题
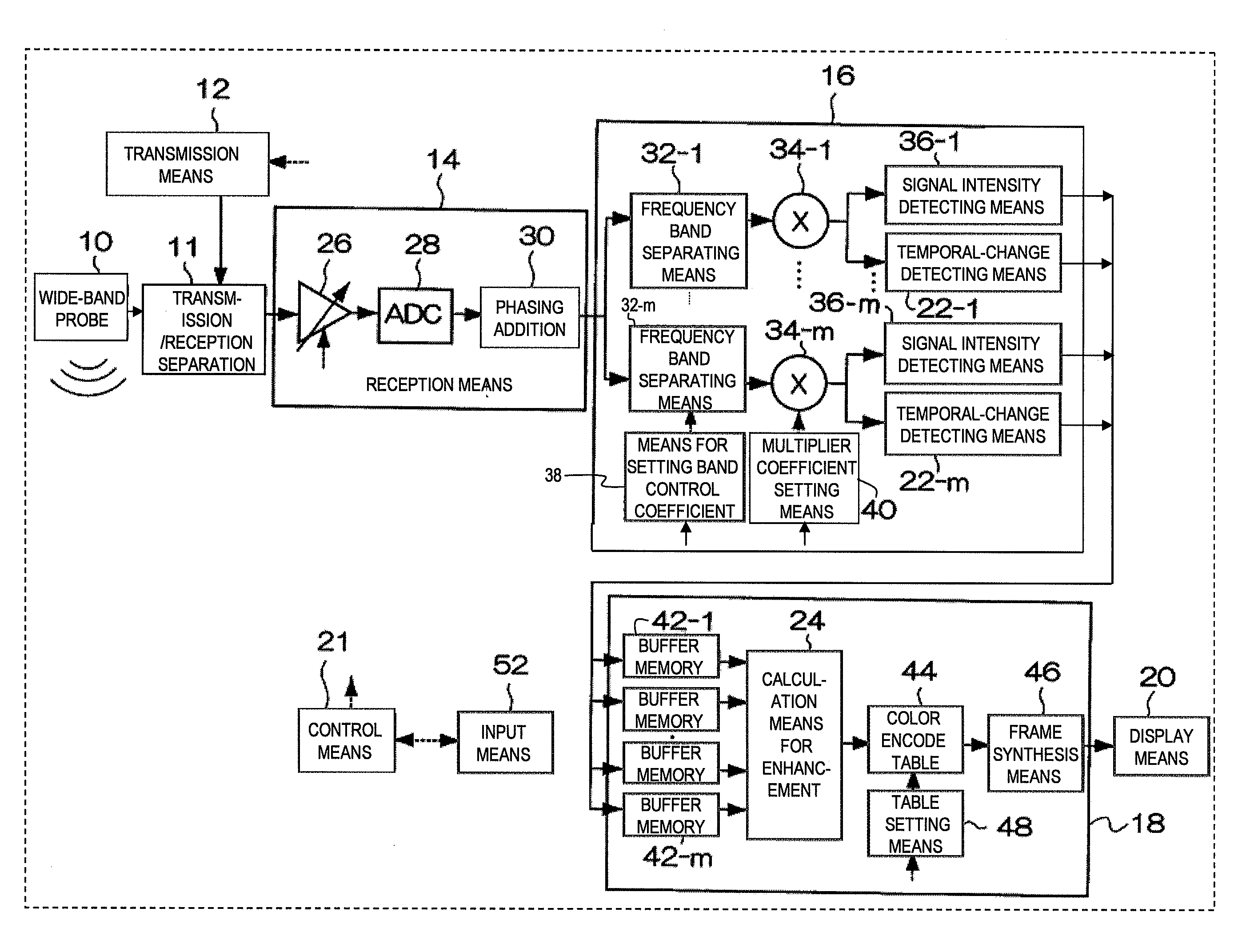
Ultrasonic diagnostic apparatus and ultrasonic image display method
授权日
1900-01-01
公开(公告)号
US20090299182A1
申请日
2006-05-26
公开(公告)日
2009-12-03
当前申请(专利权)人
HITACHI, LTD.
发明人
ASAFUSA, KATSUNORI
简单同族
CN101170947A | CN101170947B | EP1884195A1 | EP1884195A4 | JP4772788B2 | JPWO2006126684A1 | JPWO2006126684A5 | US20090299182A1 | US8055036 | WO2006126684A1
简单同族成员数量
10
简单同族被引用专利总数
42
诉讼案件数
0
法律状态/事件
授权 | 权利转移
抱歉,您的浏览器不支持PDF预览,请点击链接下载PDF文件