专利数据库
统计分析
产业报告
专利数据监控
产业人才
行业动态
产业政策法规
维权援助
个人中心
详情
文本
图像
标题
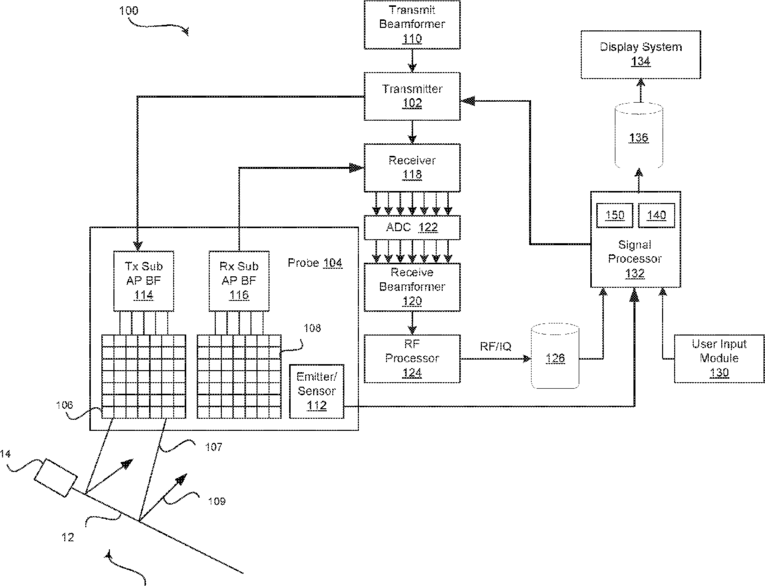
Method and system for enhanced visualization by automatically adjusting ultrasound needle recognition parameters
授权日
1900-01-01
公开(公告)号
US20160374643A1
申请日
2013-12-31
公开(公告)日
2016-12-29
当前申请(专利权)人
GENERAL ELECTRIC COMPANY
发明人
HALMANN, MENACHEM | LIN, FENG | PEIFFER, JEFFREY SCOTT | KANG, EUNJU | LI, BO | BATES, DAVID J.
简单同族
US20160374643A1 | WO2015100580A1
简单同族成员数量
2
简单同族被引用专利总数
0
诉讼案件数
0
法律状态/事件
撤回 | 权利转移
抱歉,您的浏览器不支持PDF预览,请点击链接下载PDF文件