专利数据库
统计分析
产业报告
专利数据监控
产业人才
行业动态
产业政策法规
维权援助
个人中心
详情
文本
图像
标题
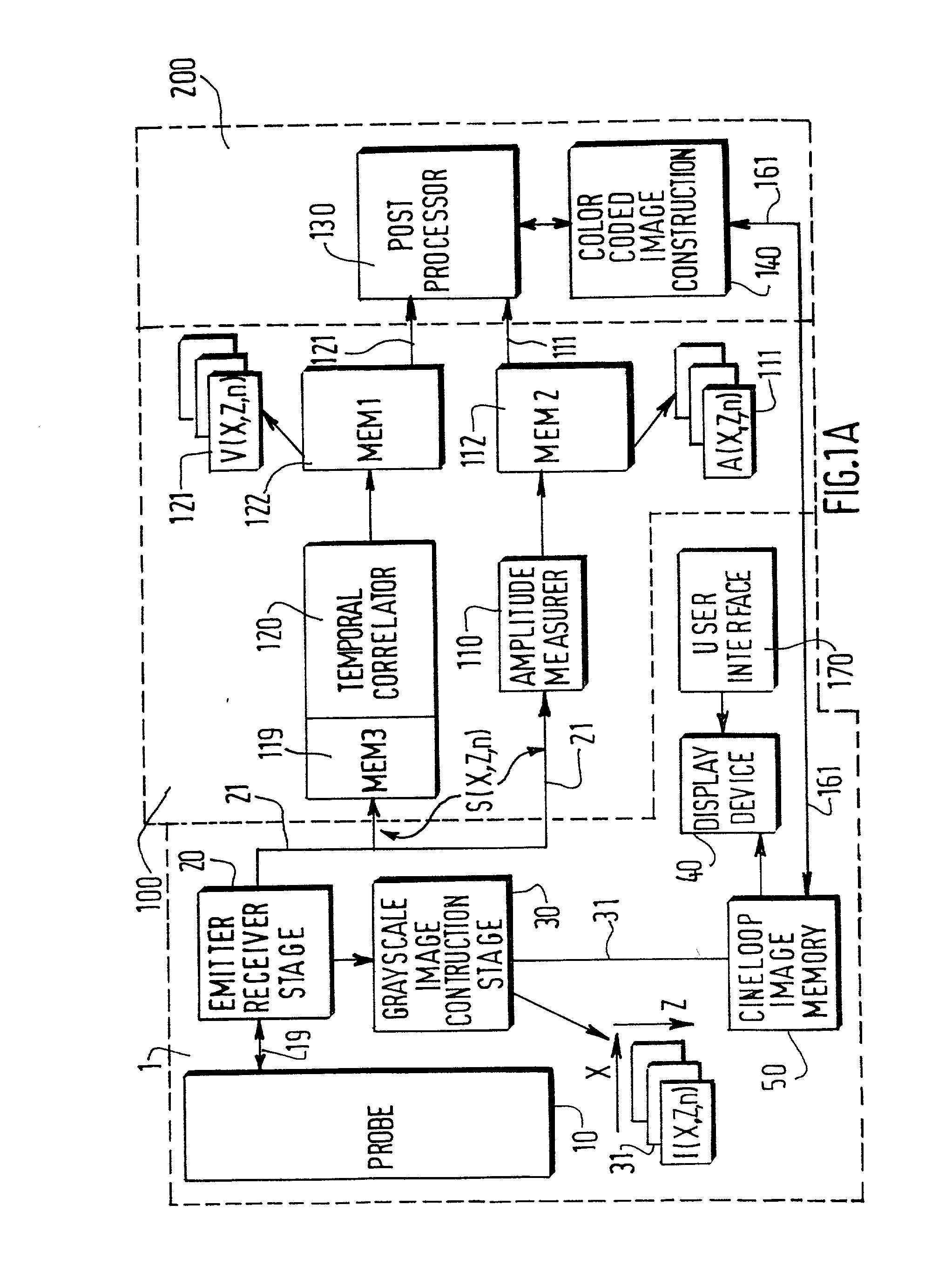
Ultrasonic image processing method and examination system for displaying an ultrasonic color-coded image sequence of an object having moving parts
授权日
1900-01-01
公开(公告)号
US20010031921A1
申请日
2000-12-28
公开(公告)日
2001-10-18
当前申请(专利权)人
KONINKLIJKE PHILIPS ELECTRICS N.V.
发明人
BONNEFOUS, ODILE
简单同族
DE60012310D1 | DE60012310T2 | EP1158904A1 | EP1158904B1 | JP2003518404A | US20010031921A1 | US6508769 | WO2001047421A1
简单同族成员数量
8
简单同族被引用专利总数
35
诉讼案件数
0
法律状态/事件
未缴年费 | 权利转移
抱歉,您的浏览器不支持PDF预览,请点击链接下载PDF文件