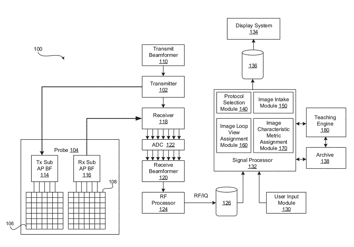
Method and system for automatically selecting ultrasound image loops from a continuously captured stress echocardiogram based on assigned image view types and image characteristic metrics
授权日
1900-01-01
公开(公告)号
US20190076127A1
申请日
2017-09-12
公开(公告)日
2019-03-14
当前申请(专利权)人
GENERAL ELECTRIC COMPANY
发明人
AASE, SVEIN ARNE | VIGGEN, KJETIL | ZIEGLER, ANDREAS