专利数据库
统计分析
产业报告
专利数据监控
产业人才
行业动态
产业政策法规
维权援助
个人中心
详情
文本
图像
标题
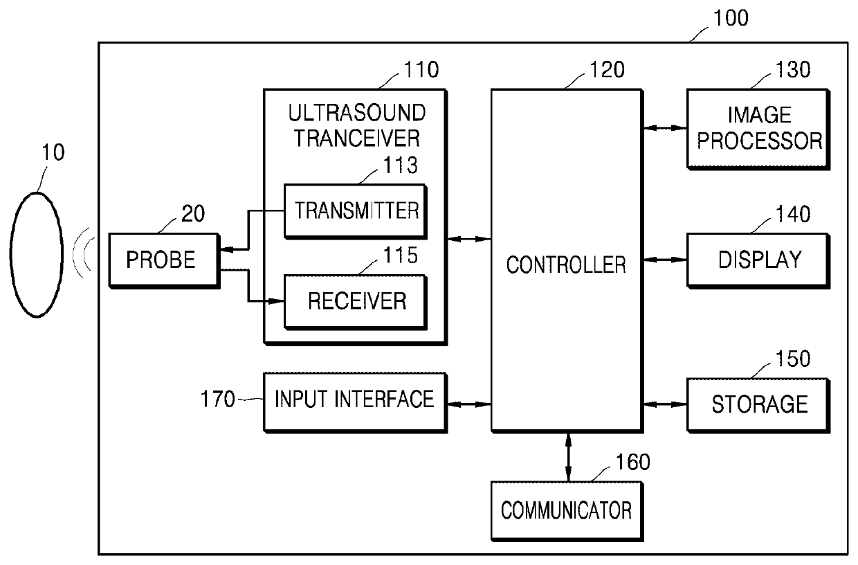
Ultrasound imaging apparatus and method for displaying ultrasound image
授权日
1900-01-01
公开(公告)号
US20200029940A1
申请日
2019-07-11
公开(公告)日
2020-01-30
当前申请(专利权)人
SAMSUNG MEDISON CO., LTD.
发明人
PARK, SEOK-LAI | KIM, RAE-EUN | LEE, SUN-JOONG
简单同族
US20200029940A1
简单同族成员数量
1
简单同族被引用专利总数
0
诉讼案件数
0
法律状态/事件
实质审查 | 权利转移
抱歉,您的浏览器不支持PDF预览,请点击链接下载PDF文件