专利数据库
统计分析
产业报告
专利数据监控
产业人才
行业动态
产业政策法规
维权援助
个人中心
详情
文本
图像
标题
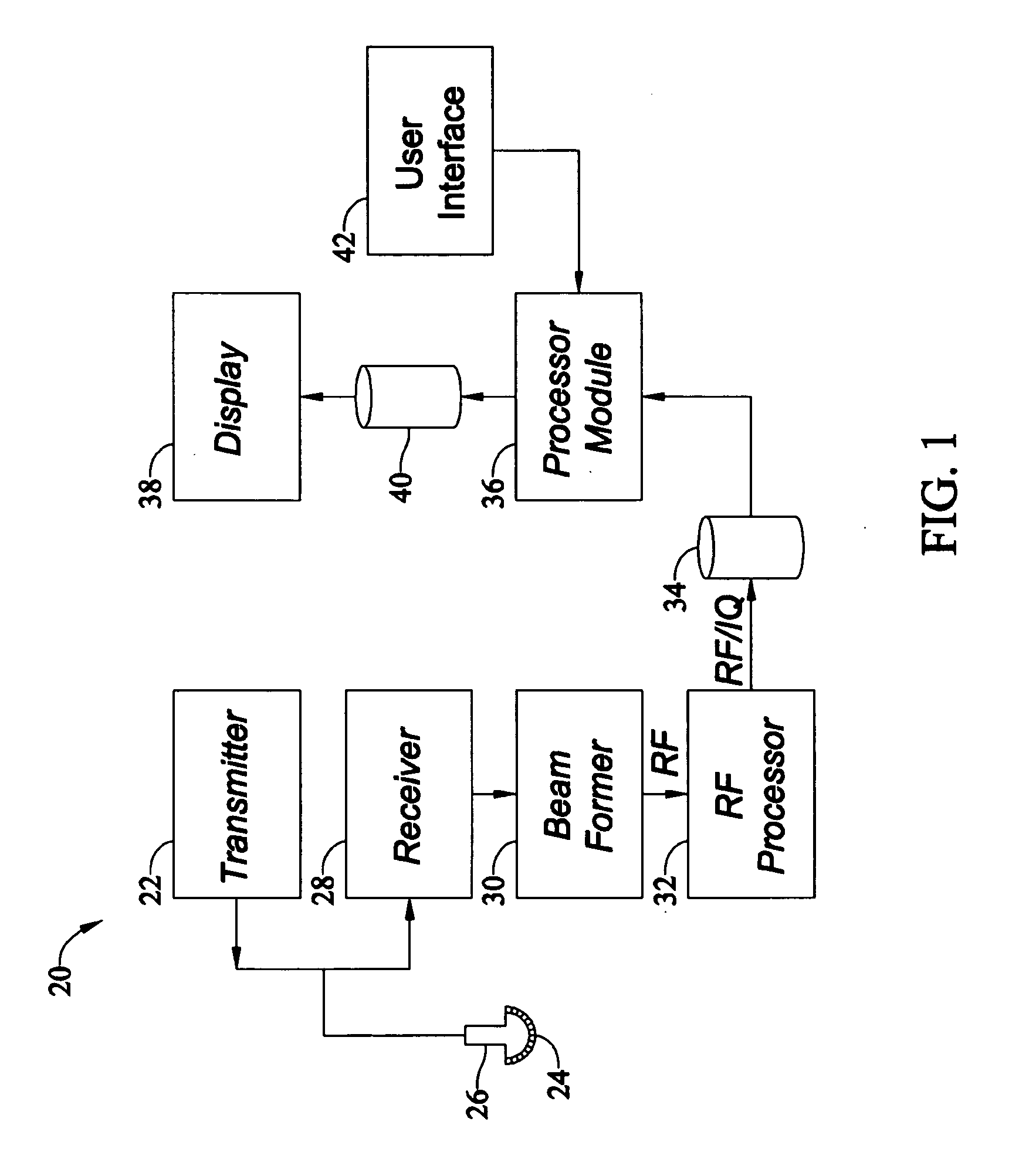
User interface and method for displaying information in an ultrasound system
授权日
1900-01-01
公开(公告)号
US20070259158A1
申请日
2006-05-05
公开(公告)日
2007-11-08
当前申请(专利权)人
GENERAL ELECTRIC COMPANY
发明人
FRIEDMAN, ZVI | GOLDENBERG, SERGEI | LYSYANSKY, PETER | HANSEN, GUNNAR
简单同族
CN101066210A | CN101066210B | DE102007019652A1 | JP2007296334A | US20070259158A1
简单同族成员数量
5
简单同族被引用专利总数
34
诉讼案件数
0
法律状态/事件
撤回 | 权利转移
抱歉,您的浏览器不支持PDF预览,请点击链接下载PDF文件