专利数据库
统计分析
产业报告
专利数据监控
产业人才
行业动态
产业政策法规
维权援助
个人中心
详情
文本
图像
标题
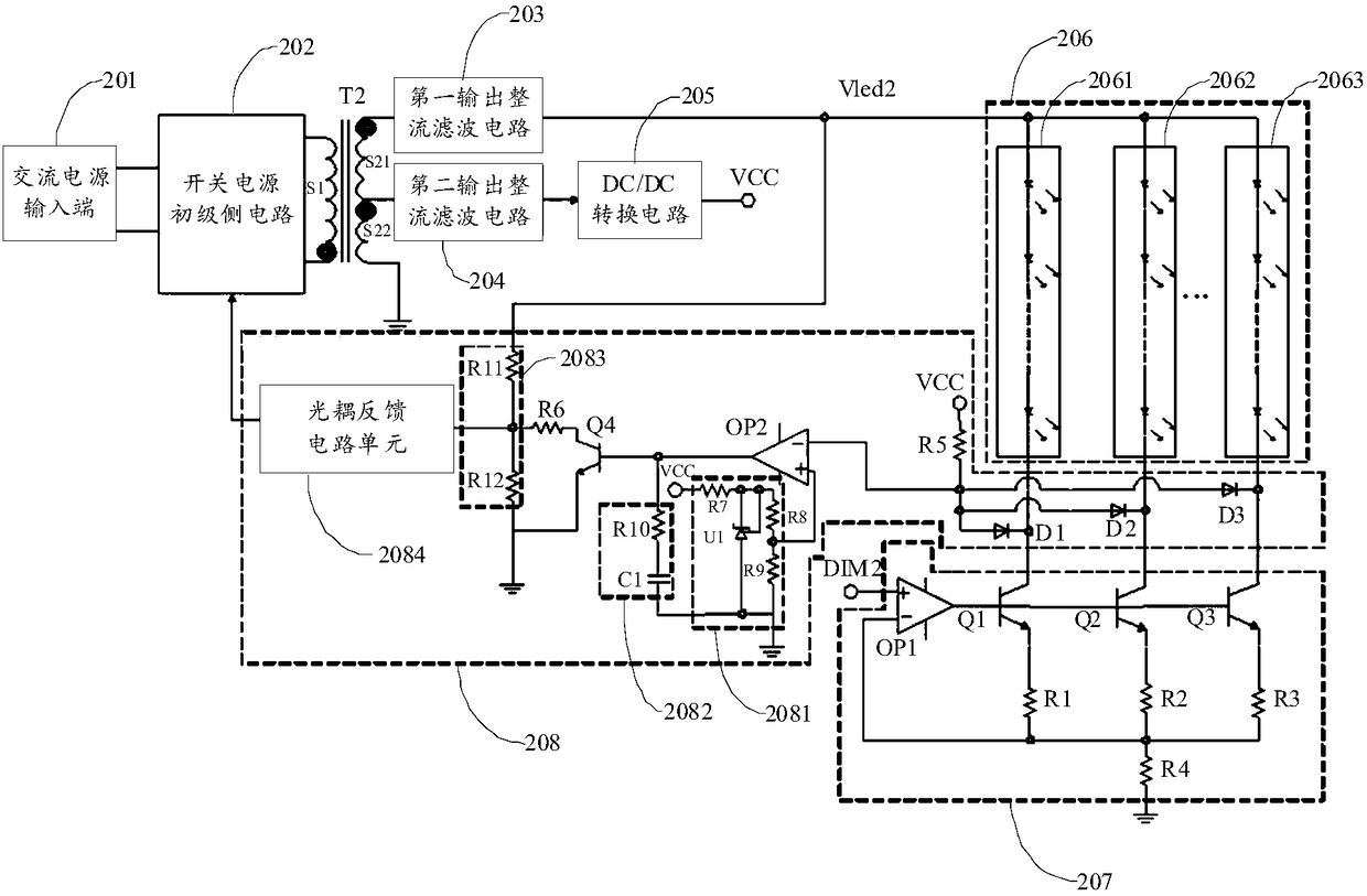
LED灯条驱动电路及液晶显示设备
授权日
2018-04-13
公开(公告)号
CN207233365U
申请日
2017-10-09
公开(公告)日
2018-04-13
当前申请(专利权)人
深圳市富临通实业股份有限公司
发明人
唐文军 | 郑忠飞
简单同族
CN207233365U
简单同族成员数量
1
简单同族被引用专利总数
0
诉讼案件数
0
法律状态/事件
授权
抱歉,您的浏览器不支持PDF预览,请点击链接下载PDF文件