专利数据库
统计分析
产业报告
专利数据监控
产业人才
行业动态
产业政策法规
维权援助
个人中心
详情
文本
图像
标题
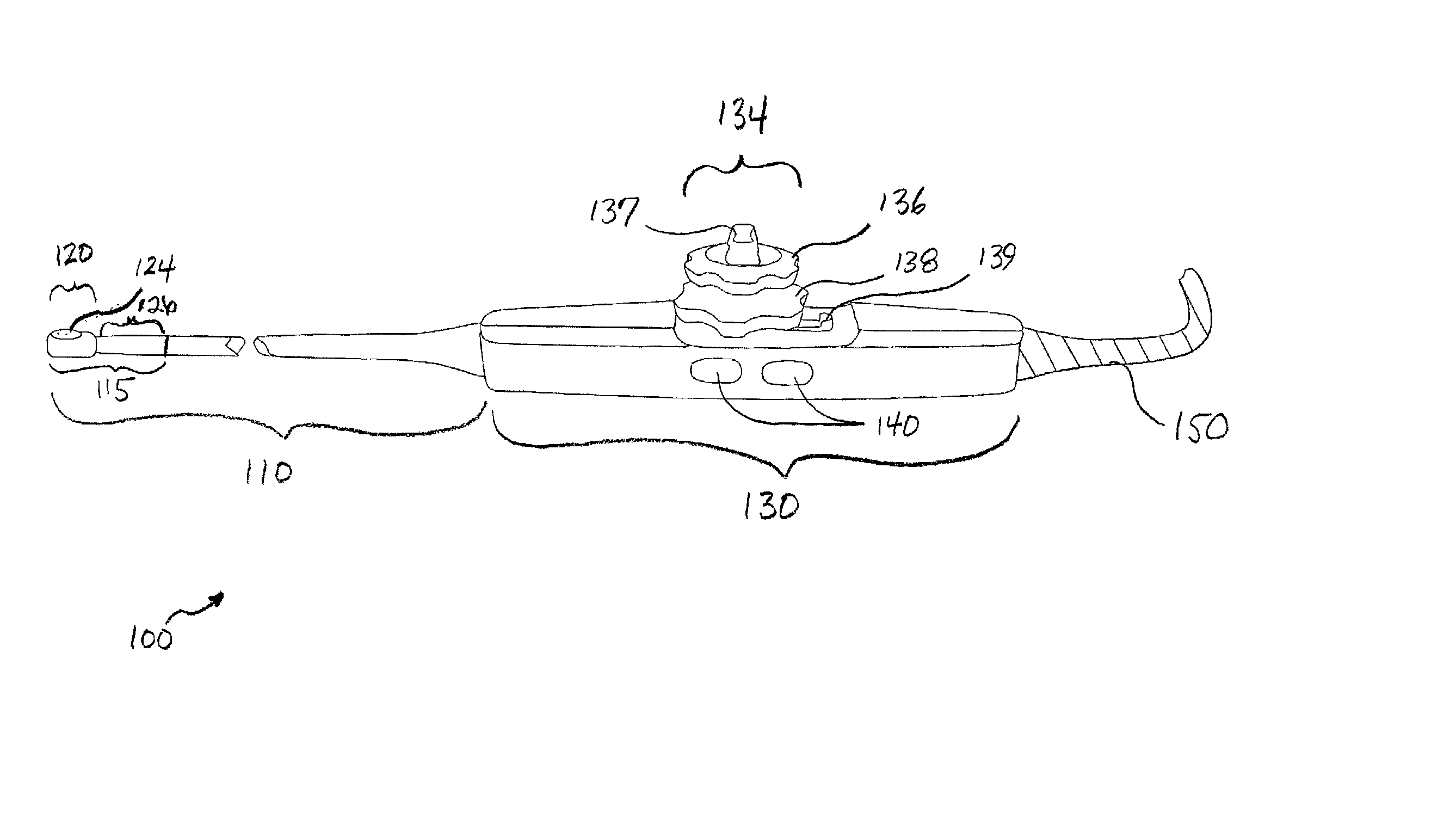
Transesophageal ultrasound probe with imaging element position sensor in scanhead
授权日
1900-01-01
公开(公告)号
US20020133078A1
申请日
2001-03-16
公开(公告)日
2002-09-19
当前申请(专利权)人
GE MEDICAL SYSTEMS GLOBAL TECHNOLOGY CO., LLC
发明人
JORDFALD, DAG | CHEN, JIAYU | RONANDER, JON | SNYDER, JONATHAN E. | PIEL, JOSEPH E. JR. | JONSBERG, KARL
简单同族
EP1240869A2 | EP1240869A3 | EP1240869B1 | JP2002330971A | JP2002330971A5 | JP4209124B2 | US20020133078A1 | US6478743
简单同族成员数量
8
简单同族被引用专利总数
28
诉讼案件数
0
法律状态/事件
授权 | 权利转移
抱歉,您的浏览器不支持PDF预览,请点击链接下载PDF文件