专利数据库
统计分析
产业报告
专利数据监控
产业人才
行业动态
产业政策法规
维权援助
个人中心
详情
文本
图像
标题
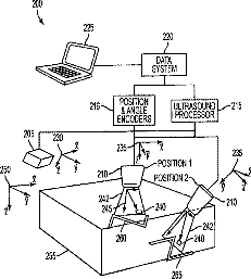
Ultrasound calibration and real-time quality assurance based on closed form formulation
授权日
2011-01-11
公开(公告)号
US7867167
申请日
2005-04-15
公开(公告)日
2011-01-11
当前申请(专利权)人
JOHNS HOPKINS UNIVERSITY
发明人
BOCTOR, EMAD M. | HAGER, GREGORY D. | FICHTINGER, GABOR | VISWANATHAN, ANAND
简单同族
EP1744676A1 | EP1744676A4 | EP1744676B1 | US20080269604A1 | US7867167 | WO2005099581A1
简单同族成员数量
6
简单同族被引用专利总数
69
诉讼案件数
0
法律状态/事件
授权 | 许可 | 权利转移
抱歉,您的浏览器不支持PDF预览,请点击链接下载PDF文件