专利数据库
统计分析
产业报告
专利数据监控
产业人才
行业动态
产业政策法规
维权援助
个人中心
详情
文本
图像
标题
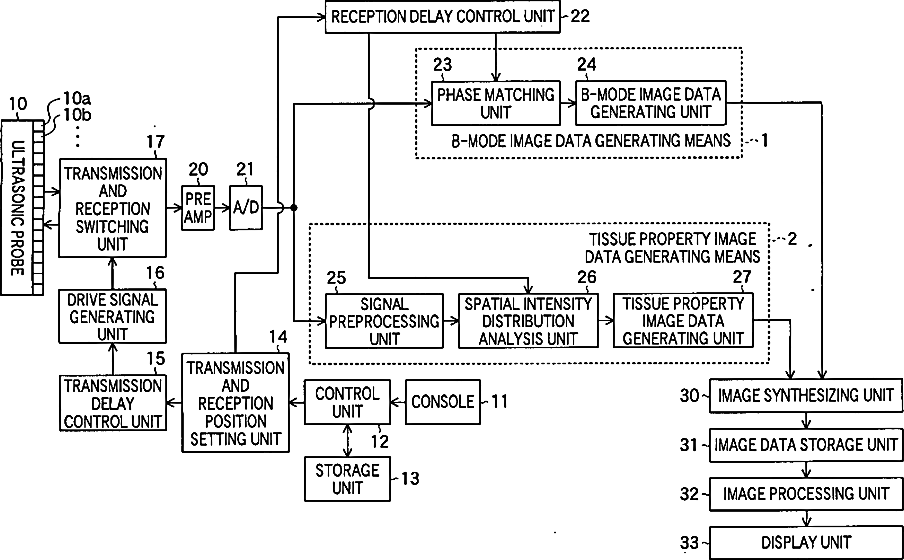
Ultrasonic imaging apparatus
授权日
1900-01-01
公开(公告)号
US20060079776A1
申请日
2005-09-26
公开(公告)日
2006-04-13
当前申请(专利权)人
FUJIFILM CORPORATION
发明人
KARASAWA, HIROYUKI
简单同族
US20060079776A1 | US7713206
简单同族成员数量
2
简单同族被引用专利总数
25
诉讼案件数
0
法律状态/事件
授权 | 权利转移
抱歉,您的浏览器不支持PDF预览,请点击链接下载PDF文件