专利数据库
统计分析
产业报告
专利数据监控
产业人才
行业动态
产业政策法规
维权援助
个人中心
详情
文本
图像
标题
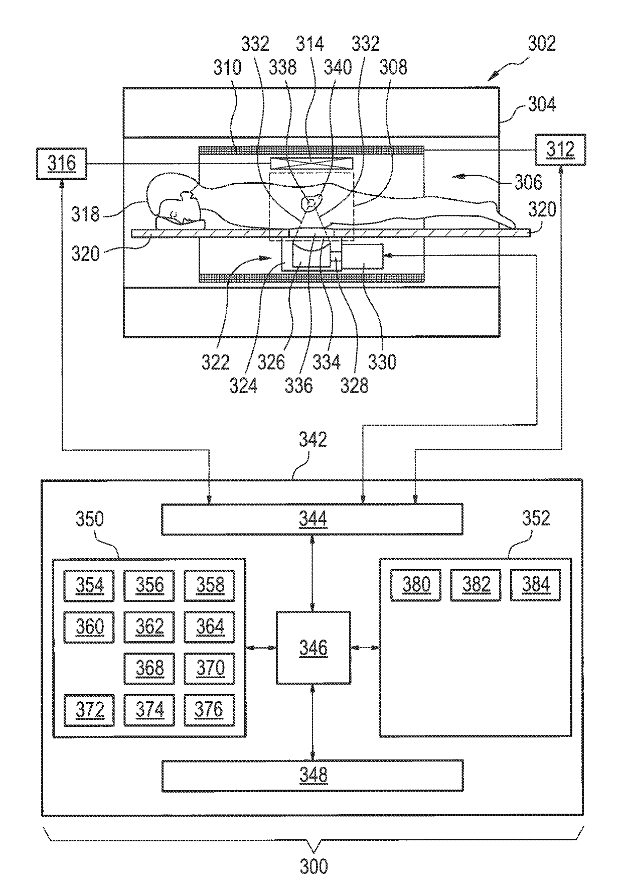
Real time control of high intensity focused ultrasound using magnetic resonance imaging
授权日
2019-10-29
公开(公告)号
US10459043
申请日
2012-08-27
公开(公告)日
2019-10-29
当前申请(专利权)人
KONINKLIJKE PHILIPS ELECTRONICS N.V.
发明人
VAHALA, ERKKI TAPANI
简单同族
CN103764227A | CN103764227B | EP2750766A1 | EP2750766B1 | IN1056CHENP2014A | JP2014528779A | JP2014528779A5 | JP6295395B2 | US10459043 | US20140194728A1 | WO2013030746A1
简单同族成员数量
11
简单同族被引用专利总数
19
诉讼案件数
0
法律状态/事件
授权 | 质押 | 权利转移
抱歉,您的浏览器不支持PDF预览,请点击链接下载PDF文件