专利数据库
统计分析
产业报告
专利数据监控
产业人才
行业动态
产业政策法规
维权援助
个人中心
详情
文本
图像
标题
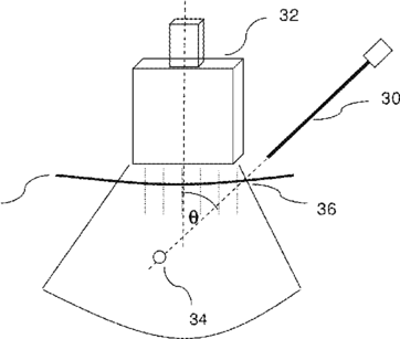
Ultrasound guided robot for flexible needle steering
授权日
2016-08-23
公开(公告)号
US9420995
申请日
2014-01-27
公开(公告)日
2016-08-23
当前申请(专利权)人
TECHNION RESEARCH & DEVELOPMENT FOUNDATION LTD.
发明人
NEUBACH, ZIPI | SHOHAM, MOSHE
简单同族
CN102105190A | CN102105190B | CN104382650A | CN104382650B | EP2296745A1 | EP2296745A4 | EP2296745B1 | US20110112549A1 | US20140142429A1 | US20170049528A1 | US8663130 | US9420995 | US9743996 | WO2009144730A1
简单同族成员数量
14
简单同族被引用专利总数
61
诉讼案件数
0
法律状态/事件
授权 | 权利转移
抱歉,您的浏览器不支持PDF预览,请点击链接下载PDF文件