专利数据库
统计分析
产业报告
专利数据监控
产业人才
行业动态
产业政策法规
维权援助
个人中心
详情
文本
图像
标题
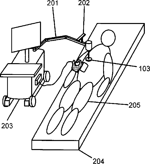
Elastography Using Ultrasound Imaging of a Thin Volume
授权日
1900-01-01
公开(公告)号
US20140330122A1
申请日
2012-08-17
公开(公告)日
2014-11-06
当前申请(专利权)人
THE UNIVERSITY OF BRITISH COLUMBIA
发明人
BAGHANI, ALI | ESKANDARI, HANI | ROHLING, ROBERT N. | SALCUDEAN, SEPTIMU E.
简单同族
CA2845404A1 | CN103857343A | CN103857343B | US10667791 | US20140330122A1 | WO2013026141A1
简单同族成员数量
6
简单同族被引用专利总数
25
诉讼案件数
0
法律状态/事件
授权 | 权利转移
抱歉,您的浏览器不支持PDF预览,请点击链接下载PDF文件