专利数据库
统计分析
产业报告
专利数据监控
产业人才
行业动态
产业政策法规
维权援助
个人中心
详情
文本
图像
标题
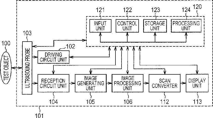
Ultrasound diagnostic device and method of generating an intermediary image of ultrasound image
授权日
1900-01-01
公开(公告)号
US20150272552A1
申请日
2015-06-15
公开(公告)日
2015-10-01
当前申请(专利权)人
HITACHI, LTD.
发明人
KOTAKI, GO | MIYAMOTO, ATSUSHI | NAKAHIRA, KENJI
简单同族
JP2014131777A | JP2015142832A | JP5649083B2 | JP5859595B2 | JP5954806B2 | JPWO2012008217A1 | US20130090560A1 | US20150272552A1 | US9408591 | WO2012008217A1
简单同族成员数量
10
简单同族被引用专利总数
19
诉讼案件数
0
法律状态/事件
授权 | 权利转移
抱歉,您的浏览器不支持PDF预览,请点击链接下载PDF文件