专利数据库
统计分析
产业报告
专利数据监控
产业人才
行业动态
产业政策法规
维权援助
个人中心
详情
文本
图像
标题
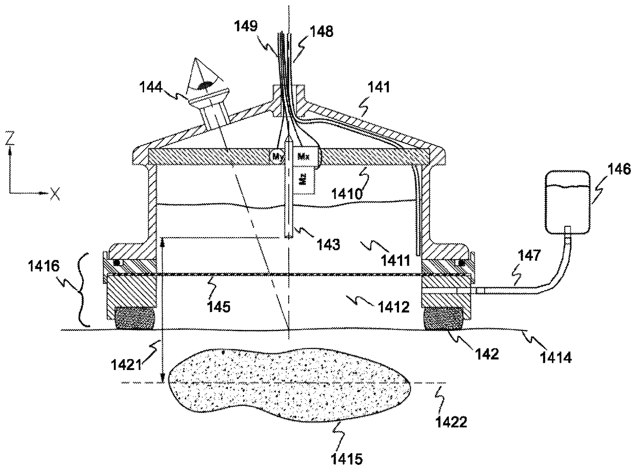
Components for a precision ultrasonic scanning apparatus for body parts
授权日
2020-01-14
公开(公告)号
US10531859
申请日
2016-03-25
公开(公告)日
2020-01-14
当前申请(专利权)人
ARCSCAN, INC.
发明人
WATSON, JOHN D. | LEVIEN, ANDREW K.
简单同族
US10531859 | US20160270762A1
简单同族成员数量
2
简单同族被引用专利总数
0
诉讼案件数
0
法律状态/事件
授权 | 权利转移
抱歉,您的浏览器不支持PDF预览,请点击链接下载PDF文件