专利数据库
统计分析
产业报告
专利数据监控
产业人才
行业动态
产业政策法规
维权援助
个人中心
详情
文本
图像
标题
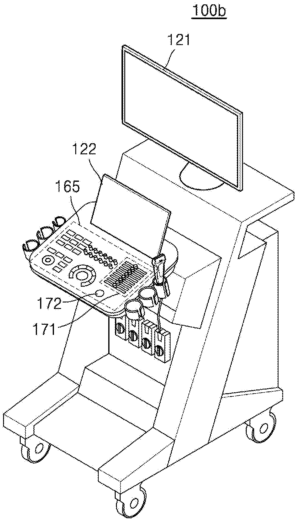
Ultrasound imaging apparatus, method of controlling the same, and computer program product
授权日
1900-01-01
公开(公告)号
US20200187895A1
申请日
2019-07-02
公开(公告)日
2020-06-18
当前申请(专利权)人
SAMSUNG MEDISON CO., LTD.
发明人
GONG, SOYEON | PARK, SUNGAH | YANG, EUNHO | YIM, YURI
简单同族
EP3666196A1 | US20200187895A1
简单同族成员数量
2
简单同族被引用专利总数
0
诉讼案件数
0
法律状态/事件
公开
抱歉,您的浏览器不支持PDF预览,请点击链接下载PDF文件