专利数据库
统计分析
产业报告
专利数据监控
产业人才
行业动态
产业政策法规
维权援助
个人中心
详情
文本
图像
标题
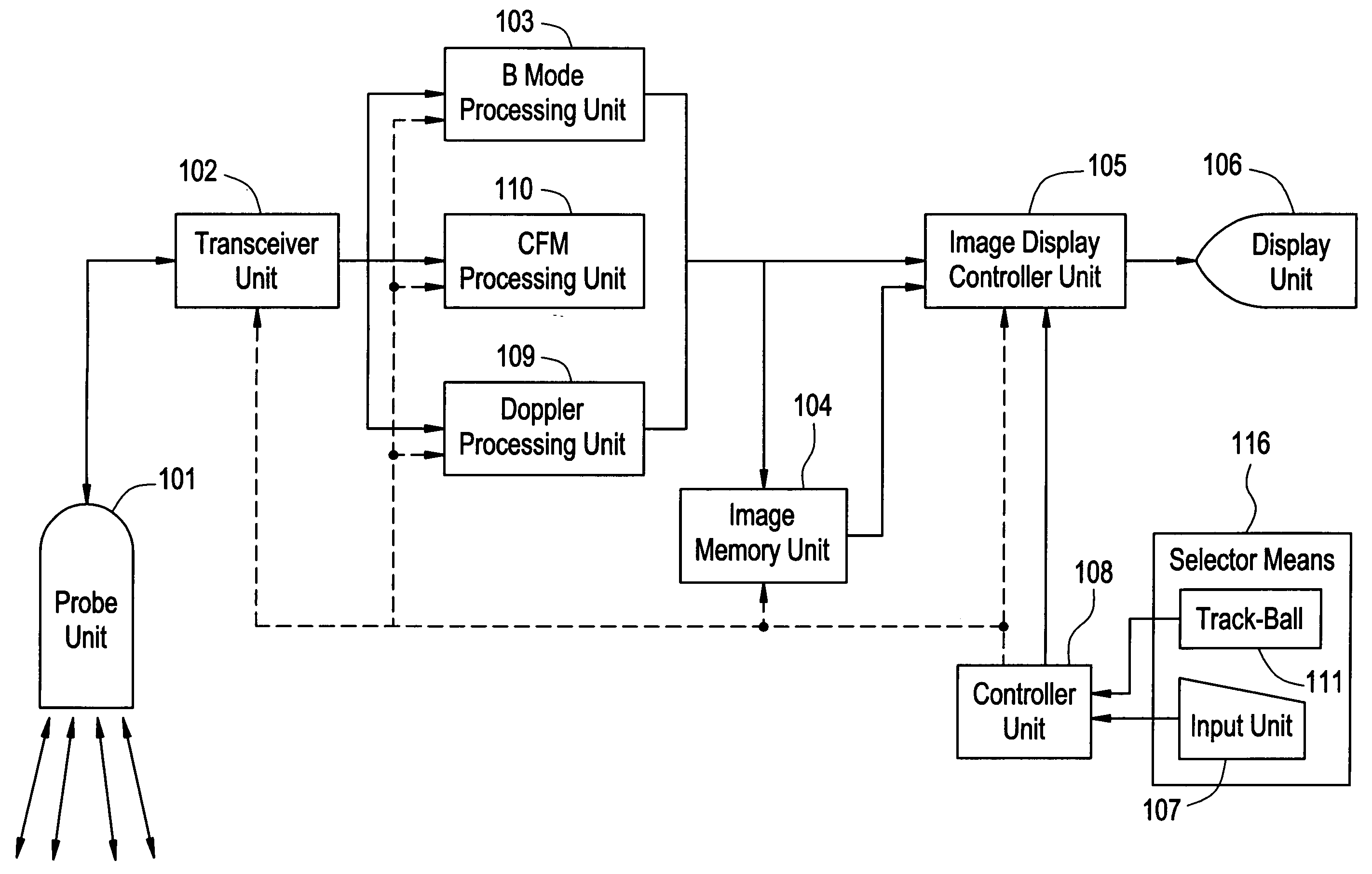
Ultrasonic imaging apparatus
授权日
1900-01-01
公开(公告)号
US20060184019A1
申请日
2005-12-08
公开(公告)日
2006-08-17
当前申请(专利权)人
GE MEDICAL SYSTEMS GLOBAL TECHNOLOGY COMPANY, LLC
发明人
ITO, MAYUMI | ABE, YAYOI | FUJIWARA, CHIORI | YAWATA, TSUTOMU
简单同族
CN1785124A | DE602005015813D1 | EP1669029A1 | EP1669029B1 | JP2006158799A | KR100742472B1 | KR1020060065560A | US20060184019A1
简单同族成员数量
8
简单同族被引用专利总数
27
诉讼案件数
0
法律状态/事件
撤回 | 权利转移
抱歉,您的浏览器不支持PDF预览,请点击链接下载PDF文件