专利数据库
统计分析
产业报告
专利数据监控
产业人才
行业动态
产业政策法规
维权援助
个人中心
详情
文本
图像
标题
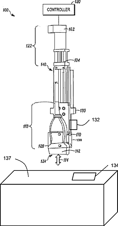
Ultrasound scanning system
授权日
1900-01-01
公开(公告)号
US20130317365A1
申请日
2013-05-03
公开(公告)日
2013-11-28
当前申请(专利权)人
MASSACHUSETTS INSTITUTE OF TECHNOLOGY
发明人
ANTHONY, BRIAN W. | SUN, SHIH-YU
简单同族
US20130296707A1 | US20130317365A1 | US9538982
简单同族成员数量
3
简单同族被引用专利总数
29
诉讼案件数
0
法律状态/事件
撤回 | 权利转移
抱歉,您的浏览器不支持PDF预览,请点击链接下载PDF文件