专利数据库
统计分析
产业报告
专利数据监控
产业人才
行业动态
产业政策法规
维权援助
个人中心
详情
文本
图像
标题
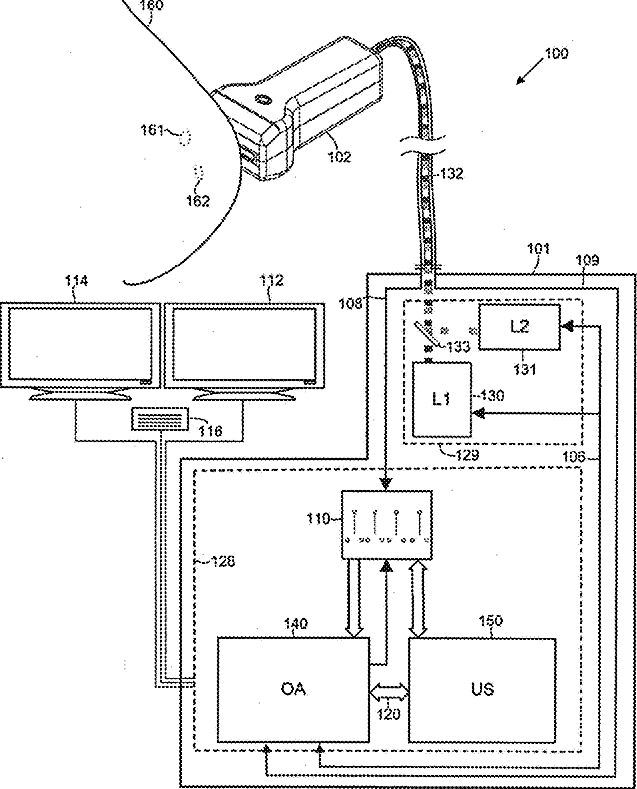
System and method for storing data associated with the operation of a dual modality optoacoustic/ultrasound system
授权日
1900-01-01
公开(公告)号
US20130338501A1
申请日
2012-06-13
公开(公告)日
2013-12-19
当前申请(专利权)人
SENO MEDICAL INSTRUMENTS, INC.
发明人
CLINGMAN, BRYAN
简单同族
US20130338501A1
简单同族成员数量
1
简单同族被引用专利总数
22
诉讼案件数
0
法律状态/事件
撤回 | 权利转移
抱歉,您的浏览器不支持PDF预览,请点击链接下载PDF文件