专利数据库
统计分析
产业报告
专利数据监控
产业人才
行业动态
产业政策法规
维权援助
个人中心
详情
文本
图像
标题
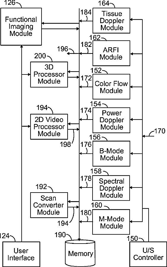
System and method for functional ultrasound imaging
授权日
1900-01-01
公开(公告)号
US20100249589A1
申请日
2009-03-25
公开(公告)日
2010-09-30
当前申请(专利权)人
GENERAL ELECTRIC COMPANY
发明人
LYSYANSKY, PETER | FRIEDMAN, ZVI | HEIMDAL, ANDREAS | HANSEN, GUNNAR
简单同族
DE102010015973A1 | JP2010227568A | US20100249589A1
简单同族成员数量
3
简单同族被引用专利总数
24
诉讼案件数
0
法律状态/事件
撤回 | 权利转移
抱歉,您的浏览器不支持PDF预览,请点击链接下载PDF文件