专利数据库
统计分析
产业报告
专利数据监控
产业人才
行业动态
产业政策法规
维权援助
个人中心
详情
文本
图像
标题
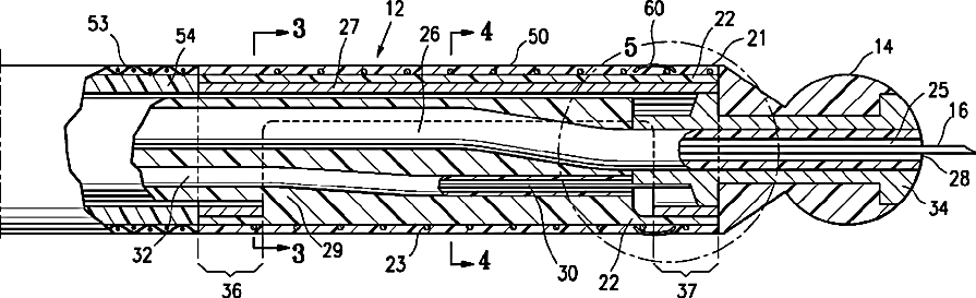
Visualization of a catheter viewed under ultrasound imaging
授权日
2013-02-26
公开(公告)号
US8382674
申请日
2008-03-07
公开(公告)日
2013-02-26
当前申请(专利权)人
ABBOTT CARDIOVASCULAR SYSTEMS INC.
发明人
WEBLER, WILLIAM E.
简单同族
AT556736T | EP2262562A2 | EP2262562B1 | EP2462977A1 | ES2386370T3 | JP2011512994A | JP5420572B2 | US20080154136A1 | US8382674 | WO2009114340A2 | WO2009114340A3
简单同族成员数量
11
简单同族被引用专利总数
57
诉讼案件数
0
法律状态/事件
未缴年费 | 权利转移
抱歉,您的浏览器不支持PDF预览,请点击链接下载PDF文件