专利数据库
统计分析
产业报告
专利数据监控
产业人才
行业动态
产业政策法规
维权援助
个人中心
详情
文本
图像
标题
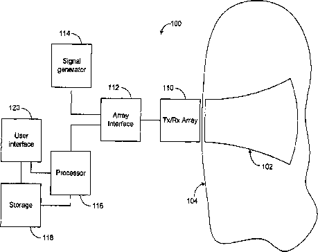
Systems and methods for ultrasound imaging
授权日
2015-11-17
公开(公告)号
US9188673
申请日
2012-08-07
公开(公告)日
2015-11-17
当前申请(专利权)人
CARESTREAM HEALTH, INC.
发明人
RAMAMURTHY, BHASKAR | DAVIES, TIMOTHY J.
简单同族
US20110125017A1 | US20130077441A1 | US8234923 | US9188673
简单同族成员数量
4
简单同族被引用专利总数
60
诉讼案件数
0
法律状态/事件
授权 | 质押 | 权利转移
抱歉,您的浏览器不支持PDF预览,请点击链接下载PDF文件