专利数据库
统计分析
产业报告
专利数据监控
产业人才
行业动态
产业政策法规
维权援助
个人中心
详情
文本
图像
标题
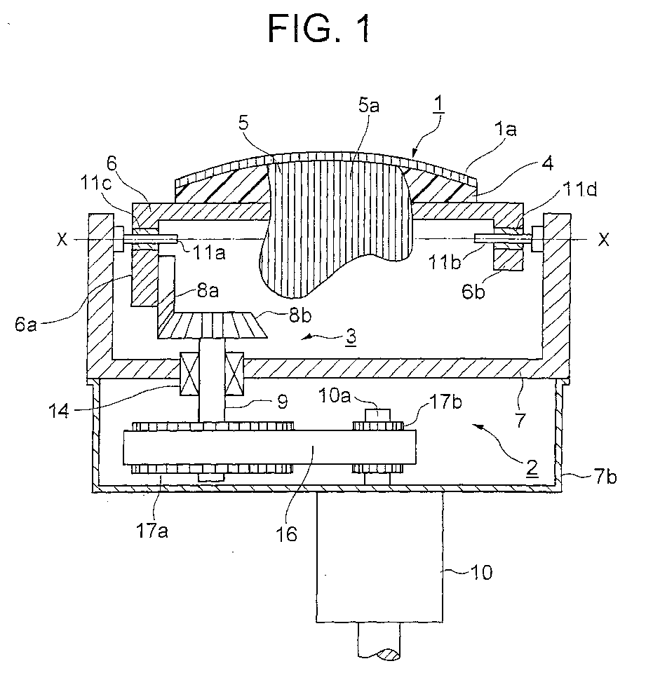
Ultrasonic probe
授权日
1900-01-01
公开(公告)号
EP1882932A3
申请日
2007-07-25
公开(公告)日
2008-08-13
当前申请(专利权)人
NIHON DEMPA KOGYO CO., LTD.
发明人
YASUNOBU HASEGAWA C/O NIHON DEMPA KOGYO CO.LTD.
简单同族
CN101112321A | CN101112321B | EP1882932A2 | EP1882932A3 | JP2008023211A | US20080027326A1 | US7967755
简单同族成员数量
7
简单同族被引用专利总数
28
诉讼案件数
0
法律状态/事件
撤回
抱歉,您的浏览器不支持PDF预览,请点击链接下载PDF文件