专利数据库
统计分析
产业报告
专利数据监控
产业人才
行业动态
产业政策法规
维权援助
个人中心
详情
文本
图像
标题
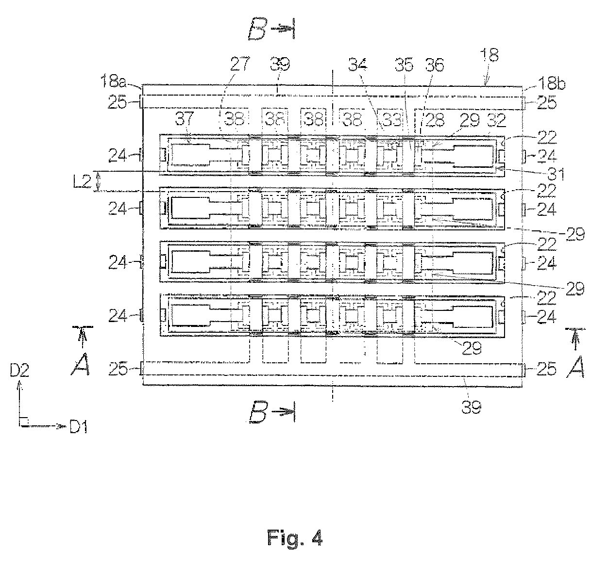
Ultrasonic transducer element package, ultrasonic transducer element chip, probe, probe head, electronic device, ultrasonic diagnostic apparatus, and method for producing ultrasonic transducer element package
授权日
1900-01-01
公开(公告)号
EP2684617A1
申请日
2013-06-14
公开(公告)日
2014-01-15
当前申请(专利权)人
SEIKO EPSON CORPORATION
发明人
ONISHI, YASUNORI
简单同族
CN103505242A | CN103505242B | EP2684617A1 | JP2013258624A | JP6047936B2 | KR1020130140573A | US20130338502A1 | US9826961
简单同族成员数量
8
简单同族被引用专利总数
18
诉讼案件数
0
法律状态/事件
撤回
抱歉,您的浏览器不支持PDF预览,请点击链接下载PDF文件