专利数据库
统计分析
产业报告
专利数据监控
产业人才
行业动态
产业政策法规
维权援助
个人中心
详情
文本
图像
标题
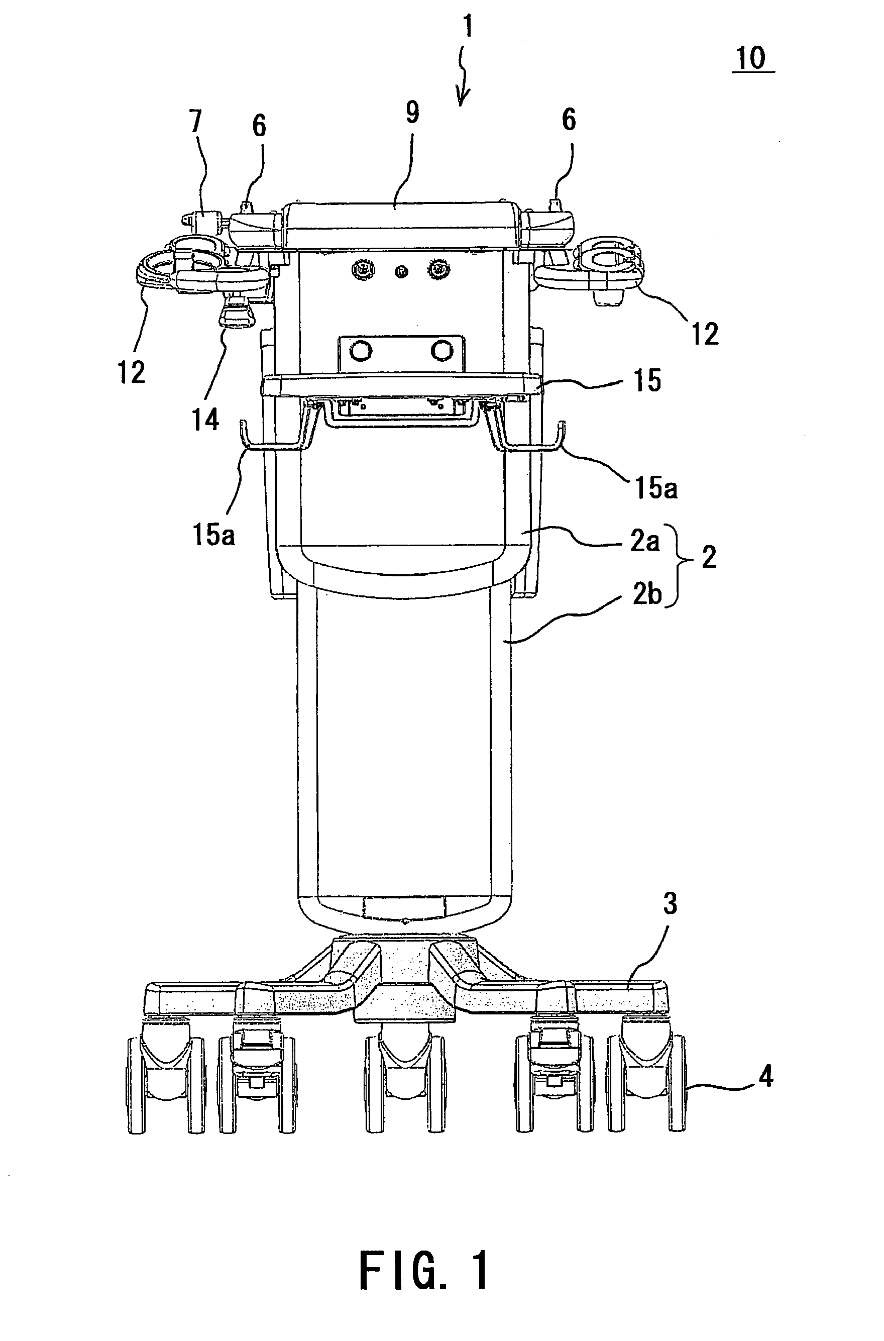
Cart for portable ultrasonic diagnostic device and ultrasonic diagnostic unit
授权日
1900-01-01
公开(公告)号
EP2762082A1
申请日
2012-07-30
公开(公告)日
2014-08-06
当前申请(专利权)人
HITACHI, LTD.
发明人
NINOMIYA, ATSUSHI | YOKOYAMA, MASARU | YANASE, KAZUYUKI | ICHIMURA, MASARU | USAMI, KATSUMI
简单同族
CN103635140A | CN103635140B | EP2762082A1 | EP2762082A4 | JP5786029B2 | JPWO2013046907A1 | US20140117635A1 | US9180898 | WO2013046907A1
简单同族成员数量
9
简单同族被引用专利总数
23
诉讼案件数
0
法律状态/事件
撤回 | 权利转移
抱歉,您的浏览器不支持PDF预览,请点击链接下载PDF文件