专利数据库
统计分析
产业报告
专利数据监控
产业人才
行业动态
产业政策法规
维权援助
个人中心
详情
文本
图像
标题
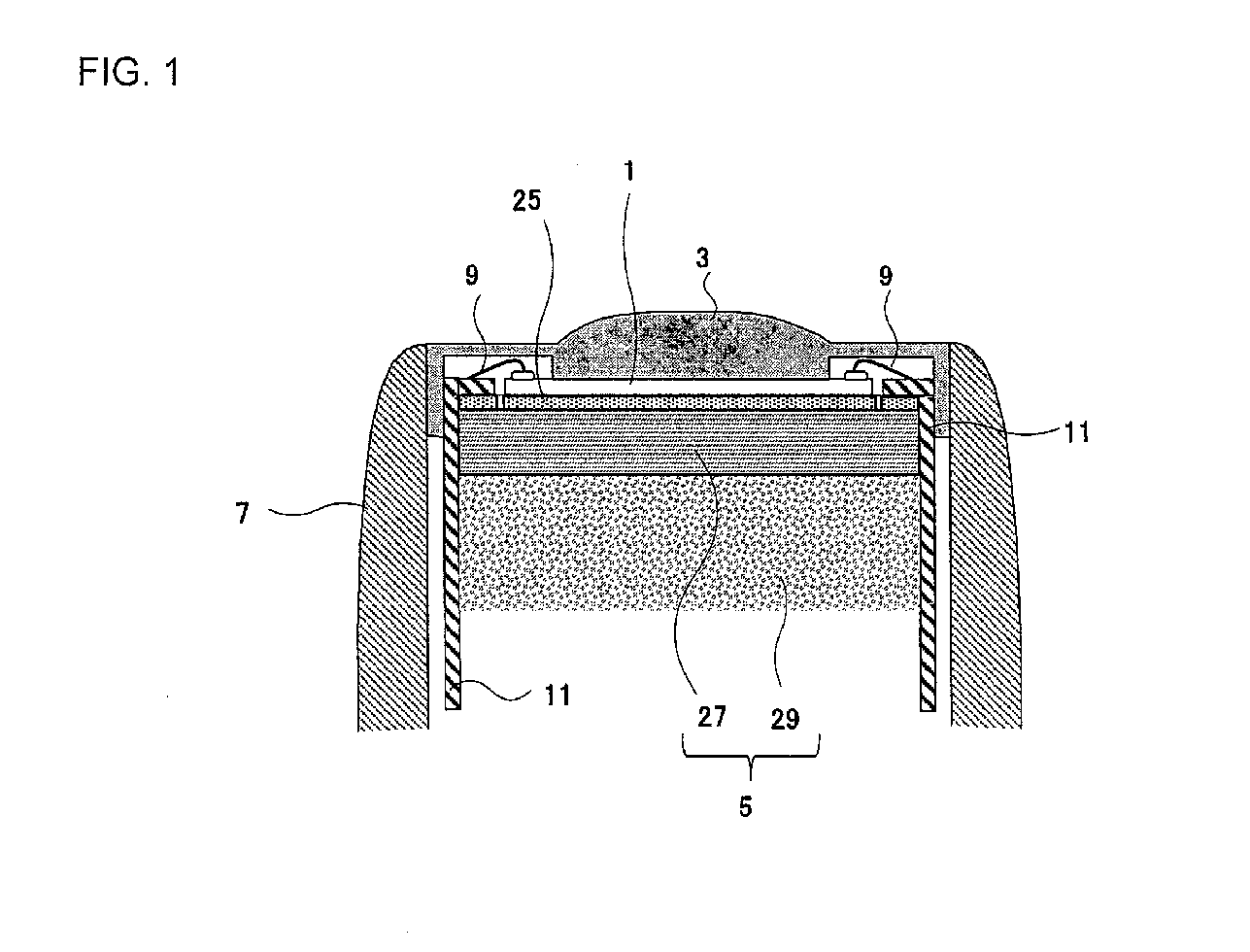
Ultrasonic probe
授权日
1900-01-01
公开(公告)号
EP2662024A1
申请日
2012-01-05
公开(公告)日
2013-11-13
当前申请(专利权)人
HITACHI, LTD.
发明人
SAKO, AKIFUMI | TAKENAKA, TOMOKO | ISHIDA, KAZUNARI
简单同族
CN103298410A | CN103298410B | EP2662024A1 | EP2662024A4 | JP2015221214A | JP5789618B2 | JPWO2012093662A1 | KR101525336B1 | KR1020130103590A | US20130285174A1 | US8975713 | WO2012093662A1
简单同族成员数量
12
简单同族被引用专利总数
19
诉讼案件数
0
法律状态/事件
撤回 | 权利转移
抱歉,您的浏览器不支持PDF预览,请点击链接下载PDF文件