专利数据库
统计分析
产业报告
专利数据监控
产业人才
行业动态
产业政策法规
维权援助
个人中心
详情
文本
图像
标题
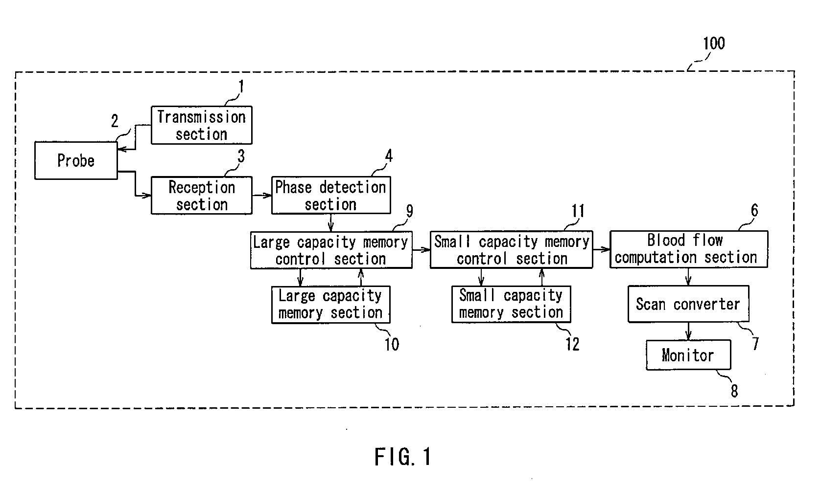
Ultrasonic doppler bloodstream measurement device
授权日
1900-01-01
公开(公告)号
EP1623675A1
申请日
2004-02-17
公开(公告)日
2006-02-08
当前申请(专利权)人
MATSUSHITA ELECTRIC INDUSTRIAL CO., LTD.
发明人
SEKI, TAKAO | HAGIWARA, HISASHI
简单同族
CN1738575A | EP1623675A1 | JP4464354B2 | JPWO2004073521A1 | US20060122511A1 | US7331928 | WO2004073521A1
简单同族成员数量
7
简单同族被引用专利总数
18
诉讼案件数
0
法律状态/事件
撤回
抱歉,您的浏览器不支持PDF预览,请点击链接下载PDF文件