专利数据库
统计分析
产业报告
专利数据监控
产业人才
行业动态
产业政策法规
维权援助
个人中心
详情
文本
图像
标题
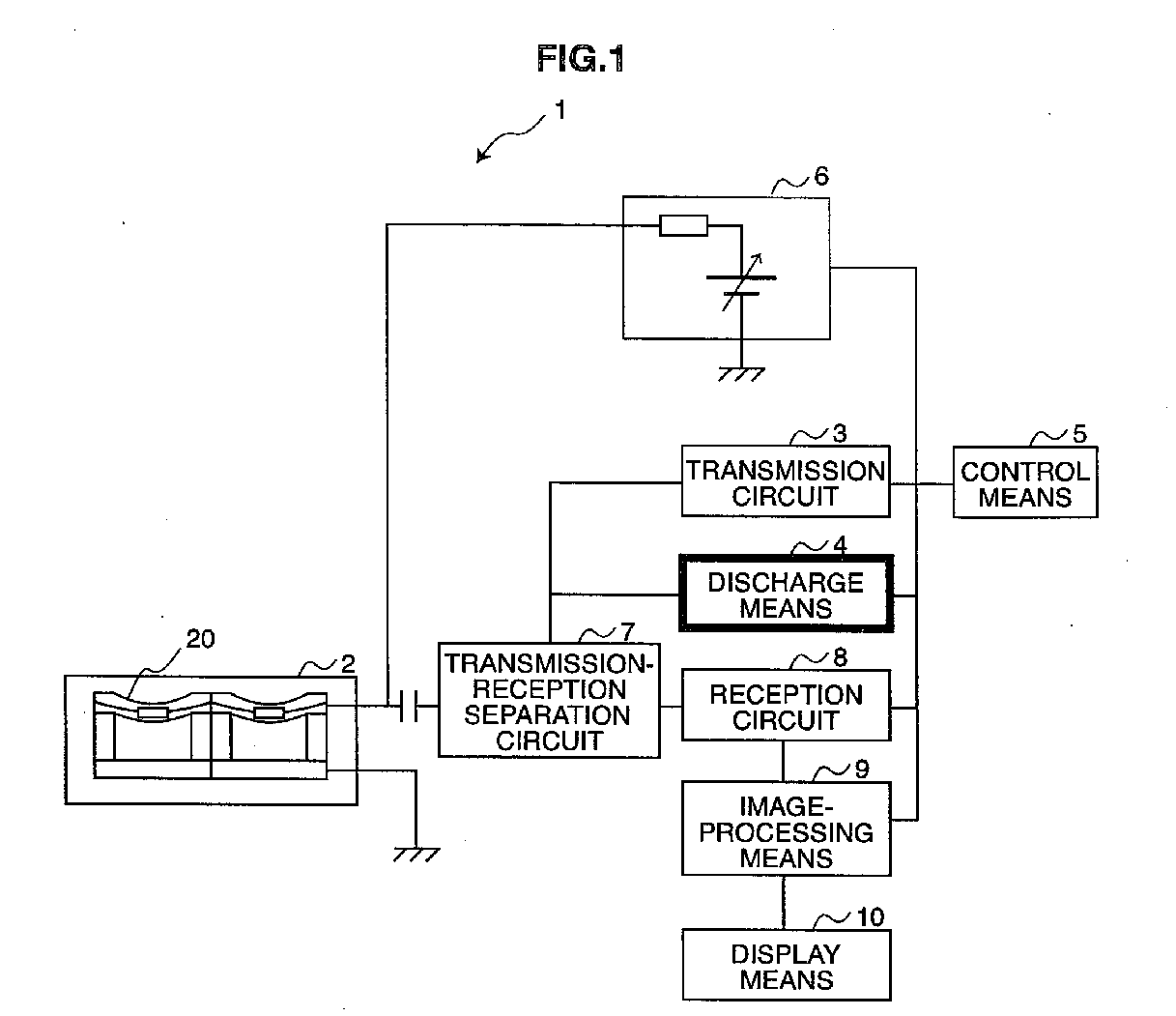
Ultrasound diagnostic apparatus and method of calibrating the same
授权日
1900-01-01
公开(公告)号
EP1952767A1
申请日
2006-10-25
公开(公告)日
2008-08-06
当前申请(专利权)人
HITACHI MEDICAL CORPORATION
发明人
ASAFUSA, KATSUNORI | NAGATA, TATSUYA
简单同族
CN101309644A | CN101309644B | EP1952767A1 | EP1952767A4 | EP1952767B1 | JP4812771B2 | JPWO2007058056A1 | US20090299192A1 | US8517948 | WO2007058056A1
简单同族成员数量
10
简单同族被引用专利总数
36
诉讼案件数
0
法律状态/事件
权利终止
抱歉,您的浏览器不支持PDF预览,请点击链接下载PDF文件