专利数据库
统计分析
产业报告
专利数据监控
产业人才
行业动态
产业政策法规
维权援助
个人中心
详情
文本
图像
标题
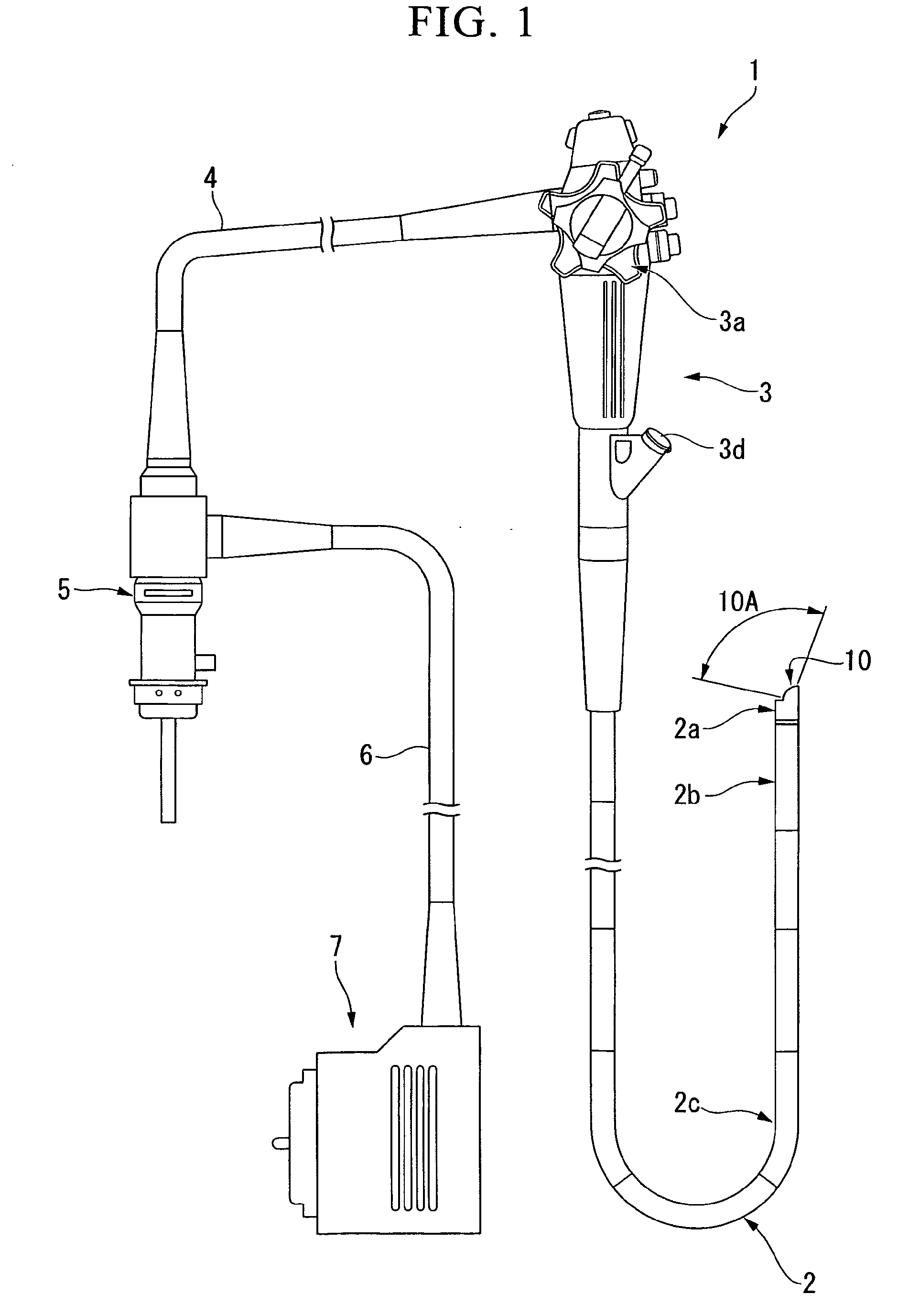
Puncture needle for ultrasound
授权日
2015-07-01
公开(公告)号
EP2662036B1
申请日
2012-05-24
公开(公告)日
2015-07-01
当前申请(专利权)人
OLYMPUS CORPORATION
发明人
SATO MASATOSHI
简单同族
CN103379872A | CN103379872B | EP2662036A1 | EP2662036A4 | EP2662036B1 | EP2848220A1 | EP2848220B1 | JP5302469B2 | JPWO2012165303A1 | US20130144164A1 | US8657749 | WO2012165303A1
简单同族成员数量
12
简单同族被引用专利总数
21
诉讼案件数
0
法律状态/事件
授权 | 权利转移
抱歉,您的浏览器不支持PDF预览,请点击链接下载PDF文件