专利数据库
统计分析
产业报告
专利数据监控
产业人才
行业动态
产业政策法规
维权援助
个人中心
详情
文本
图像
标题
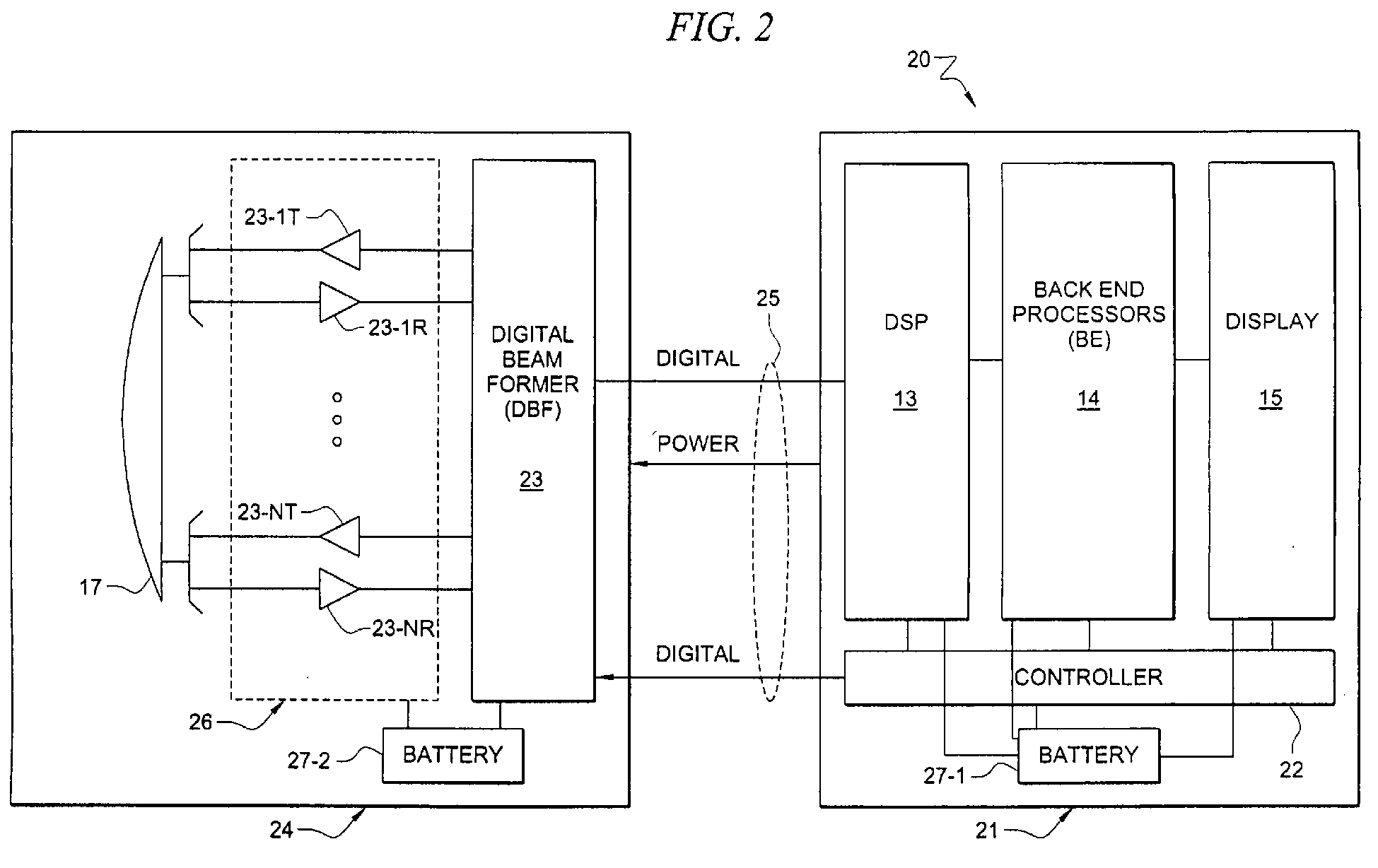
Ultrasonic transducer having a digital interface
授权日
1900-01-01
公开(公告)号
EP1923719A1
申请日
2007-01-31
公开(公告)日
2008-05-21
当前申请(专利权)人
SONOSITE, INC.
发明人
LITTLE, BLAKE W. | DUNBAR, LEE
简单同族
AU2007200112A1 | CA2573431A1 | CN101181162A | EP1923719A1 | HK1120310A | JP2008125043A | US20070071266A1 | US7867168
简单同族成员数量
8
简单同族被引用专利总数
43
诉讼案件数
0
法律状态/事件
撤回
抱歉,您的浏览器不支持PDF预览,请点击链接下载PDF文件