专利数据库
统计分析
产业报告
专利数据监控
产业人才
行业动态
产业政策法规
维权援助
个人中心
详情
文本
图像
标题
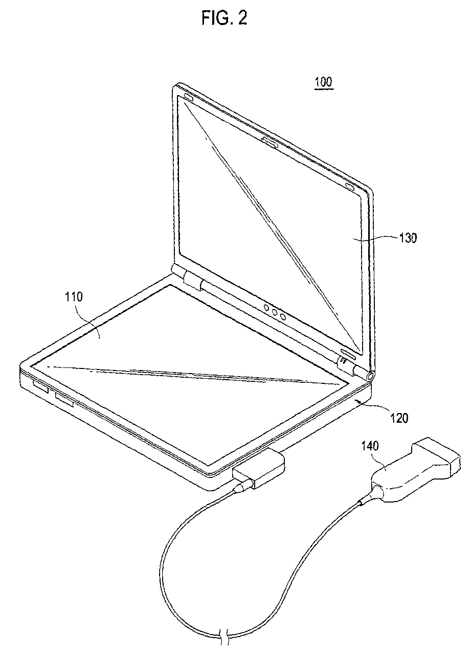
Portable ultrasound system
授权日
1900-01-01
公开(公告)号
EP1925257A1
申请日
2007-10-29
公开(公告)日
2008-05-28
当前申请(专利权)人
MEDISON CO., LTD.
发明人
SONG, YOUNG SEUK | KIM, JAE GYOUNG
简单同族
DE602007002033D1 | EP1925257A1 | EP1925257B1 | KR100948050B1 | KR1020080046888A | US20080125655A1
简单同族成员数量
6
简单同族被引用专利总数
48
诉讼案件数
0
法律状态/事件
授权
抱歉,您的浏览器不支持PDF预览,请点击链接下载PDF文件