专利数据库
统计分析
产业报告
专利数据监控
产业人才
行业动态
产业政策法规
维权援助
个人中心
详情
文本
图像
标题
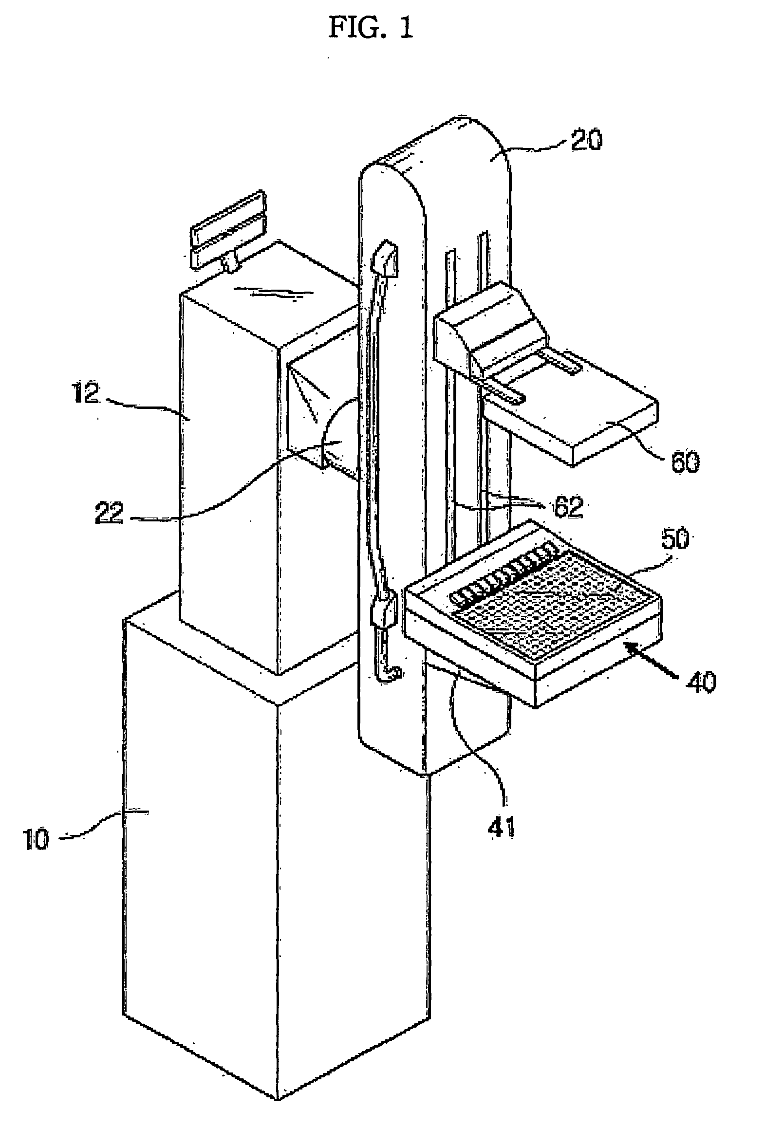
Apparatus for ultrasonic examination of deformable object
授权日
2015-03-11
公开(公告)号
EP1587423B1
申请日
2004-01-17
公开(公告)日
2015-03-11
当前申请(专利权)人
PARK, HEE-BOONG
发明人
PARK, HEE-BOONG
简单同族
CN100444802C | CN1722984A | EP1587423A1 | EP1587423A4 | EP1587423B1 | JP2006513015A | JP2009148587A | JP4295283B2 | JP4767330B2 | KR100668766B1 | KR1020050072489A | US20060084868A1 | US7963918 | WO2004064644A1
简单同族成员数量
14
简单同族被引用专利总数
23
诉讼案件数
0
法律状态/事件
授权
抱歉,您的浏览器不支持PDF预览,请点击链接下载PDF文件