专利数据库
统计分析
产业报告
专利数据监控
产业人才
行业动态
产业政策法规
维权援助
个人中心
详情
文本
图像
标题
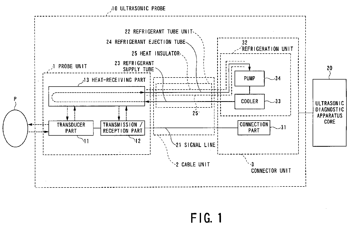
Ultrasonic probe and ultrasonic apparatus
授权日
1900-01-01
公开(公告)号
EP1806097A1
申请日
2005-10-26
公开(公告)日
2007-07-11
当前申请(专利权)人
KABUSHIKI KAISHA TOSHIBA | TOSHIBA MEDICAL SYSTEMS CORPORATION
发明人
HASHIMOTO, SHINICHI, C/O INTELLECTUAL PROPERTY DEPARTMENT
简单同族
CN102068278A | CN102068278B | DE602005011644D1 | DE602005011660D1 | DE602005021848D1 | EP1652476A2 | EP1652476A3 | EP1652476B1 | EP1792571A1 | EP1792571B1 | EP1806097A1 | EP1806097B1 | US20060100513A1 | US8333702
简单同族成员数量
14
简单同族被引用专利总数
39
诉讼案件数
0
法律状态/事件
授权 | 权利转移
抱歉,您的浏览器不支持PDF预览,请点击链接下载PDF文件