专利数据库
统计分析
产业报告
专利数据监控
产业人才
行业动态
产业政策法规
维权援助
个人中心
详情
文本
图像
标题
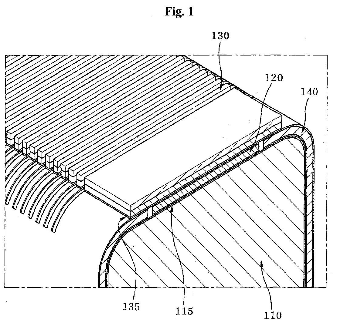
Probe for ultrasonic diagnostic apparatus and method of manufacturing the same
授权日
1900-01-01
公开(公告)号
EP2206466A1
申请日
2010-01-07
公开(公告)日
2010-07-14
当前申请(专利权)人
MEDISON CO., LTD.
发明人
JIN, GIL JU | SEO, JEONG CHEOL | JUNG, JIN WOO
简单同族
EP2206466A1 | JP2010158522A | US20100176688A1
简单同族成员数量
3
简单同族被引用专利总数
18
诉讼案件数
0
法律状态/事件
撤回
抱歉,您的浏览器不支持PDF预览,请点击链接下载PDF文件