专利数据库
统计分析
产业报告
专利数据监控
产业人才
行业动态
产业政策法规
维权援助
个人中心
详情
文本
图像
标题
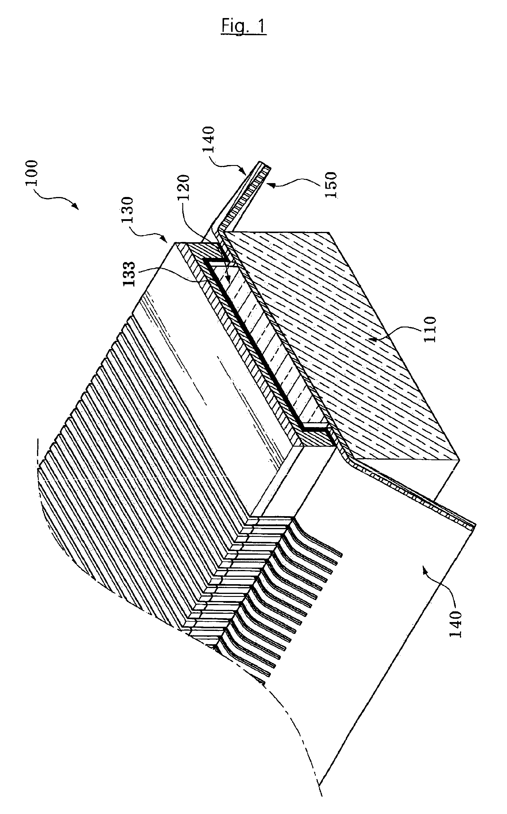
Probe for ultrasonic diagnostic apparatus and method of manufacturing the same
授权日
2014-10-01
公开(公告)号
EP2316343B1
申请日
2010-10-11
公开(公告)日
2014-10-01
当前申请(专利权)人
SAMSUNG MEDISON CO., LTD.
发明人
LEE, SUNG JAE | KIM, JAE YK | PARK, JUNG LIM
简单同族
EP2316343A1 | EP2316343B1 | JP2011097582A | JP2011097582A5 | JP5828627B2 | KR101145152B1 | KR1020110047019A | US20110105906A1 | US9414809
简单同族成员数量
9
简单同族被引用专利总数
18
诉讼案件数
0
法律状态/事件
授权 | 权利转移
抱歉,您的浏览器不支持PDF预览,请点击链接下载PDF文件