专利数据库
统计分析
产业报告
专利数据监控
产业人才
行业动态
产业政策法规
维权援助
个人中心
详情
文本
图像
标题
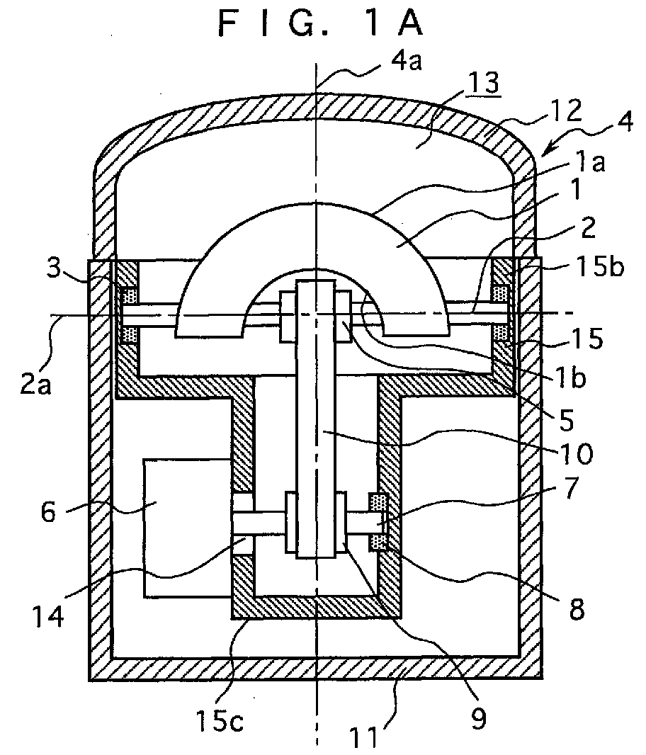
Ultrasonic probe and method of producing same
授权日
1900-01-01
公开(公告)号
EP1208800A2
申请日
2001-10-25
公开(公告)日
2002-05-29
当前申请(专利权)人
MATSUSHITA ELECTRIC INDUSTRIAL CO., LTD.
发明人
OKAWA, EIICHI | SUZUKI, TAKASHI | IRIOKA, KAZUYOSHI | KOIZUMI, JUN
简单同族
AT342693T | AU2001085529A1 | CA2363261A1 | CN1197526C | CN1353970A | DE60123909D1 | DE60123909T2 | EP1208800A2 | EP1208800A3 | EP1208800B1 | HK1044274A | JP2002153464A | JP3490390B2 | KR100823213B1 | KR1020020038547A | TW508230B | US20020062080A1 | US6569100
简单同族成员数量
18
简单同族被引用专利总数
61
诉讼案件数
0
法律状态/事件
权利终止
抱歉,您的浏览器不支持PDF预览,请点击链接下载PDF文件