专利数据库
统计分析
产业报告
专利数据监控
产业人才
行业动态
产业政策法规
维权援助
个人中心
详情
文本
图像
标题
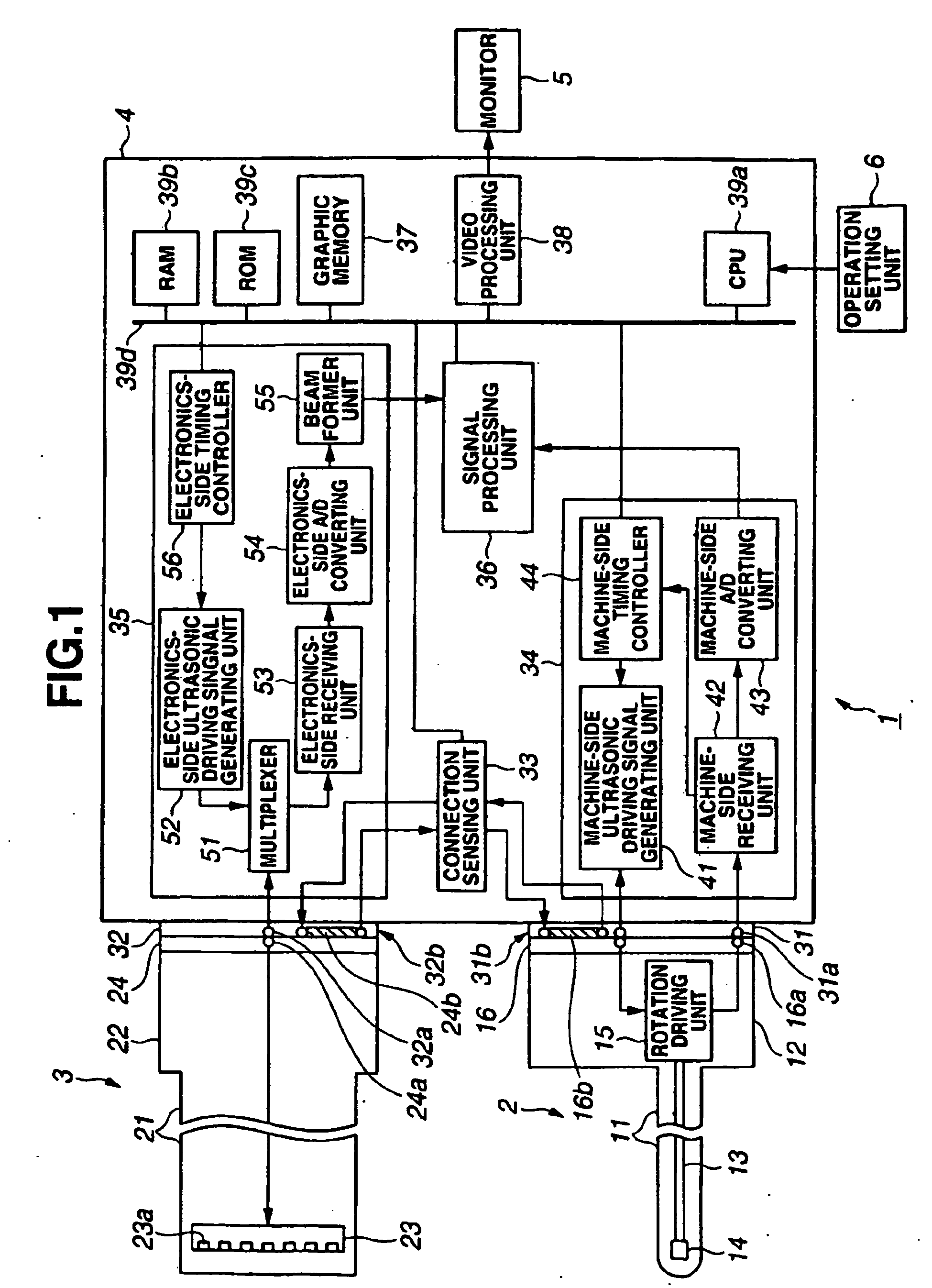
Ultrasonic observing apparatus and control method
授权日
2011-01-12
公开(公告)号
EP1867286B1
申请日
2007-06-13
公开(公告)日
2011-01-12
当前申请(专利权)人
OLYMPUS MEDICAL SYSTEMS CORP.
发明人
MISONO, KAZUHIRO
简单同族
DE602007011850D1 | EP1867286A2 | EP1867286A3 | EP1867286B1 | JP2007330472A | JP5281737B2 | US20080097208A1 | US8366623
简单同族成员数量
8
简单同族被引用专利总数
36
诉讼案件数
0
法律状态/事件
权利终止
抱歉,您的浏览器不支持PDF预览,请点击链接下载PDF文件