专利数据库
统计分析
产业报告
专利数据监控
产业人才
行业动态
产业政策法规
维权援助
个人中心
详情
文本
图像
标题
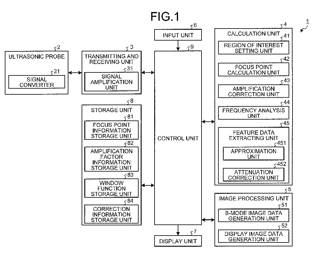
Ultrasound observation device, operation method for ultrasound observation device, and operation program for ultrasound observation device
授权日
1900-01-01
公开(公告)号
EP2904975A1
申请日
2013-09-24
公开(公告)日
2015-08-12
当前申请(专利权)人
OLYMPUS CORPORATION
发明人
EDA, HIROTAKA
简单同族
CN104125804A | CN104125804B | EP2904975A1 | EP2904975A4 | EP2904975B1 | JP5568199B1 | JPWO2014054469A1 | US20140309531A1 | US9427208 | WO2014054469A1
简单同族成员数量
10
简单同族被引用专利总数
18
诉讼案件数
0
法律状态/事件
授权 | 权利转移
抱歉,您的浏览器不支持PDF预览,请点击链接下载PDF文件