专利数据库
统计分析
产业报告
专利数据监控
产业人才
行业动态
产业政策法规
维权援助
个人中心
详情
文本
图像
标题
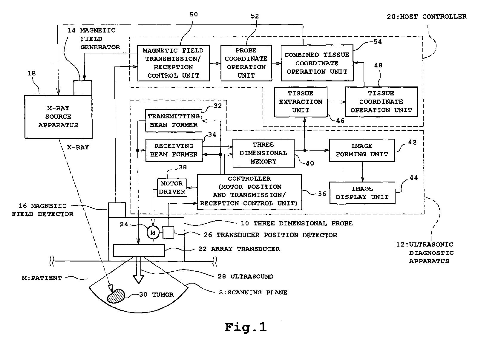
Ultrasonic Medical System
授权日
1900-01-01
公开(公告)号
EP1348377A1
申请日
2003-03-26
公开(公告)日
2003-10-01
当前申请(专利权)人
ALOKA CO. LTD.
发明人
MOCHIZUKI, TAKASHI
简单同族
DE60301989D1 | DE60301989T2 | EP1348377A1 | EP1348377B1 | JP2004000499A | US20030187345A1 | US6796943
简单同族成员数量
7
简单同族被引用专利总数
64
诉讼案件数
0
法律状态/事件
权利终止
抱歉,您的浏览器不支持PDF预览,请点击链接下载PDF文件