专利数据库
统计分析
产业报告
专利数据监控
产业人才
行业动态
产业政策法规
维权援助
个人中心
详情
文本
图像
标题
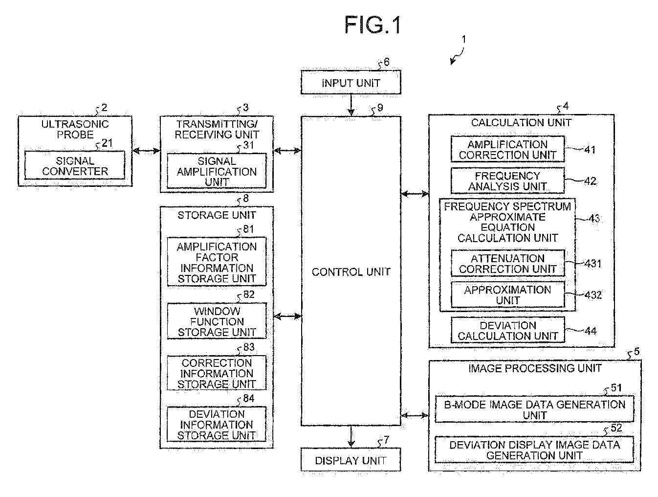
Ultrasonic observation device, ultrasonic observation device operation method, and ultrasonic observation device operation program
授权日
1900-01-01
公开(公告)号
EP2719337A1
申请日
2013-05-07
公开(公告)日
2014-04-16
当前申请(专利权)人
OLYMPUS CORPORATION
发明人
NOGUCHI, HIROMASA
简单同族
CN103717146A | CN103717146B | EP2719337A1 | EP2719337A4 | JP5430809B1 | JPWO2013179859A1 | US20140099008A1 | US8917919 | WO2013179859A1
简单同族成员数量
9
简单同族被引用专利总数
18
诉讼案件数
0
法律状态/事件
撤回 | 权利转移
抱歉,您的浏览器不支持PDF预览,请点击链接下载PDF文件