专利数据库
统计分析
产业报告
专利数据监控
产业人才
行业动态
产业政策法规
维权援助
个人中心
详情
文本
图像
标题
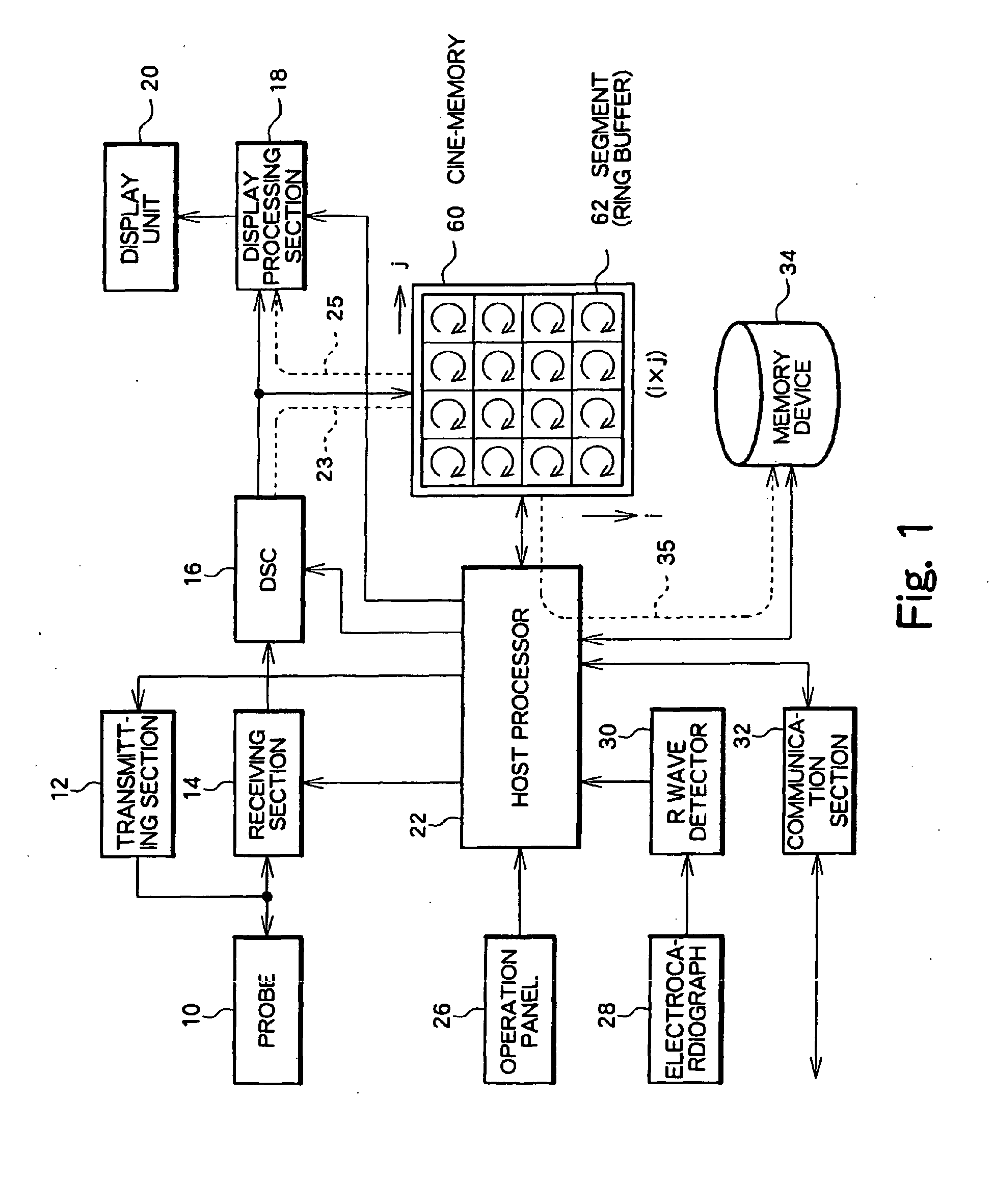
Ultrasound diagnostic apparatus
授权日
2009-07-22
公开(公告)号
EP1589477B1
申请日
2005-04-12
公开(公告)日
2009-07-22
当前申请(专利权)人
ALOKA CO. LTD.
发明人
WATANABE, TETSUO | OHTAKE, AKIFUMI | UNO, TAKAYA
简单同族
CN100493459C | CN1689527A | DE602005015505D1 | EP1589477A1 | EP1589477B1 | JP2005304757A | JP4275573B2 | US20050251037A1 | US7635333
简单同族成员数量
9
简单同族被引用专利总数
19
诉讼案件数
0
法律状态/事件
权利终止
抱歉,您的浏览器不支持PDF预览,请点击链接下载PDF文件