专利数据库
统计分析
产业报告
专利数据监控
产业人才
行业动态
产业政策法规
维权援助
个人中心
详情
文本
图像
标题
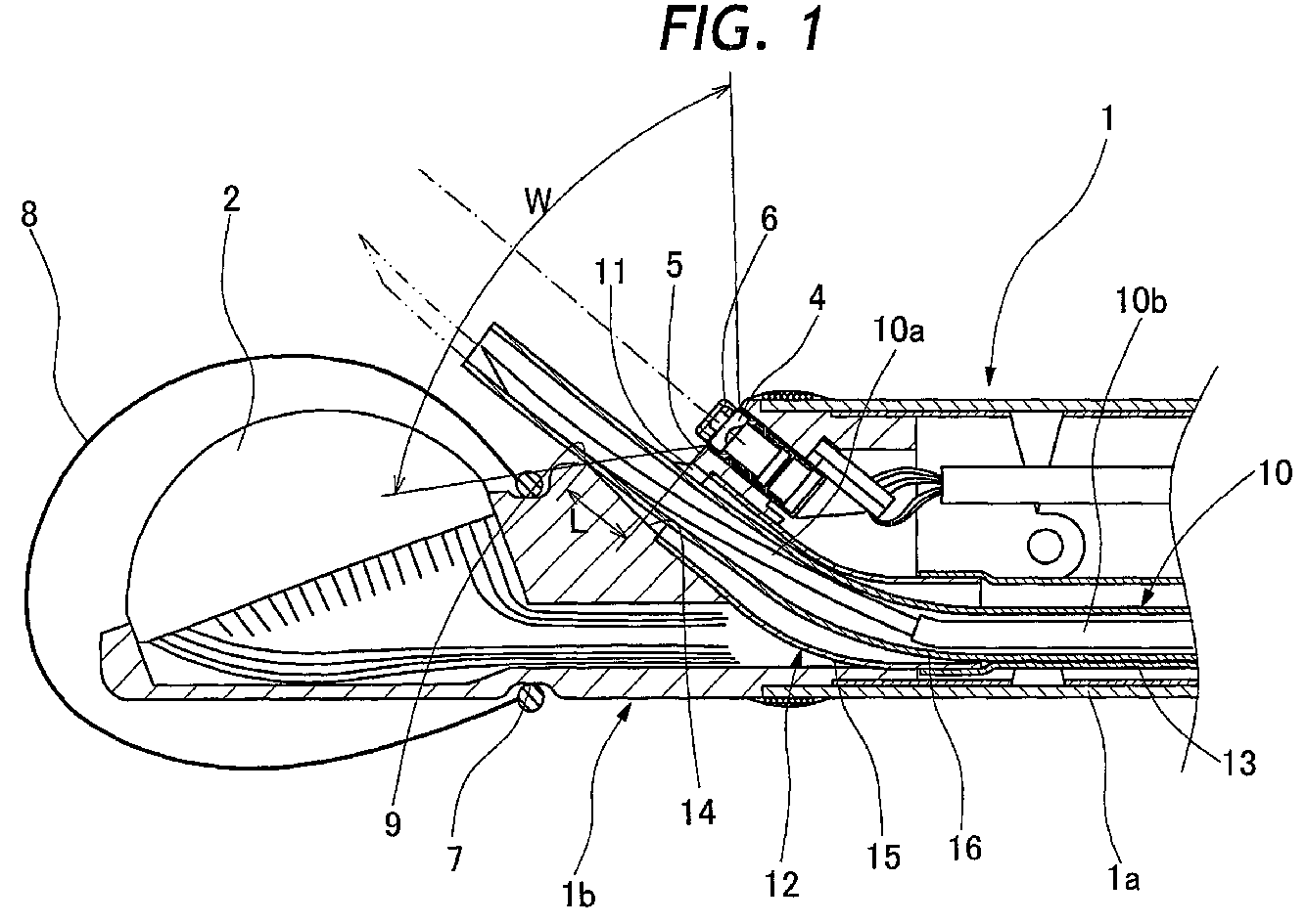
Ultrasound endoscope
授权日
1900-01-01
公开(公告)号
EP1820437A1
申请日
2007-02-16
公开(公告)日
2007-08-22
当前申请(专利权)人
FUJIFILM CORPORATION
发明人
KOHNO, SHINICHI
简单同族
DE602007014130D1 | EP1820437A1 | EP1820437B1 | US20070232922A1 | US8758251
简单同族成员数量
5
简单同族被引用专利总数
19
诉讼案件数
0
法律状态/事件
授权 | 权利转移
抱歉,您的浏览器不支持PDF预览,请点击链接下载PDF文件