专利数据库
统计分析
产业报告
专利数据监控
产业人才
行业动态
产业政策法规
维权援助
个人中心
详情
文本
图像
标题
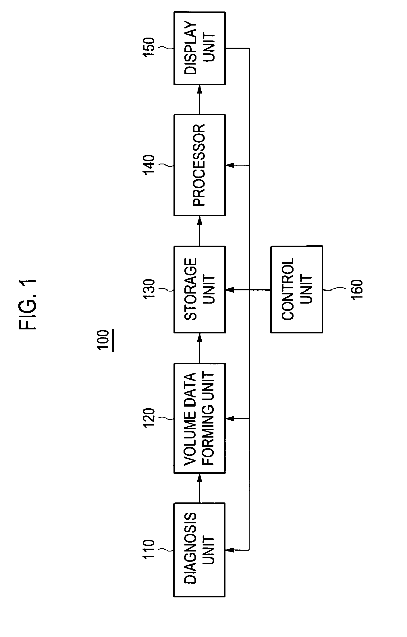
Ultrasound system and method for forming an ultrasound image
授权日
1900-01-01
公开(公告)号
EP1872723A1
申请日
2007-06-27
公开(公告)日
2008-01-02
当前申请(专利权)人
MEDISON CO., LTD.
发明人
KIM, TAE YUN DISCUSSER&MEDISON BUILDING | LEE, JIN YONG DISCUSSER & MEDISON BUILDING
简单同族
EP1872723A1 | JP2008006294A | JP5202886B2 | KR100948047B1 | KR1020080001059A | US20080044054A1 | US8103066
简单同族成员数量
7
简单同族被引用专利总数
35
诉讼案件数
0
法律状态/事件
撤回
抱歉,您的浏览器不支持PDF预览,请点击链接下载PDF文件