专利数据库
统计分析
产业报告
专利数据监控
产业人才
行业动态
产业政策法规
维权援助
个人中心
详情
文本
图像
标题
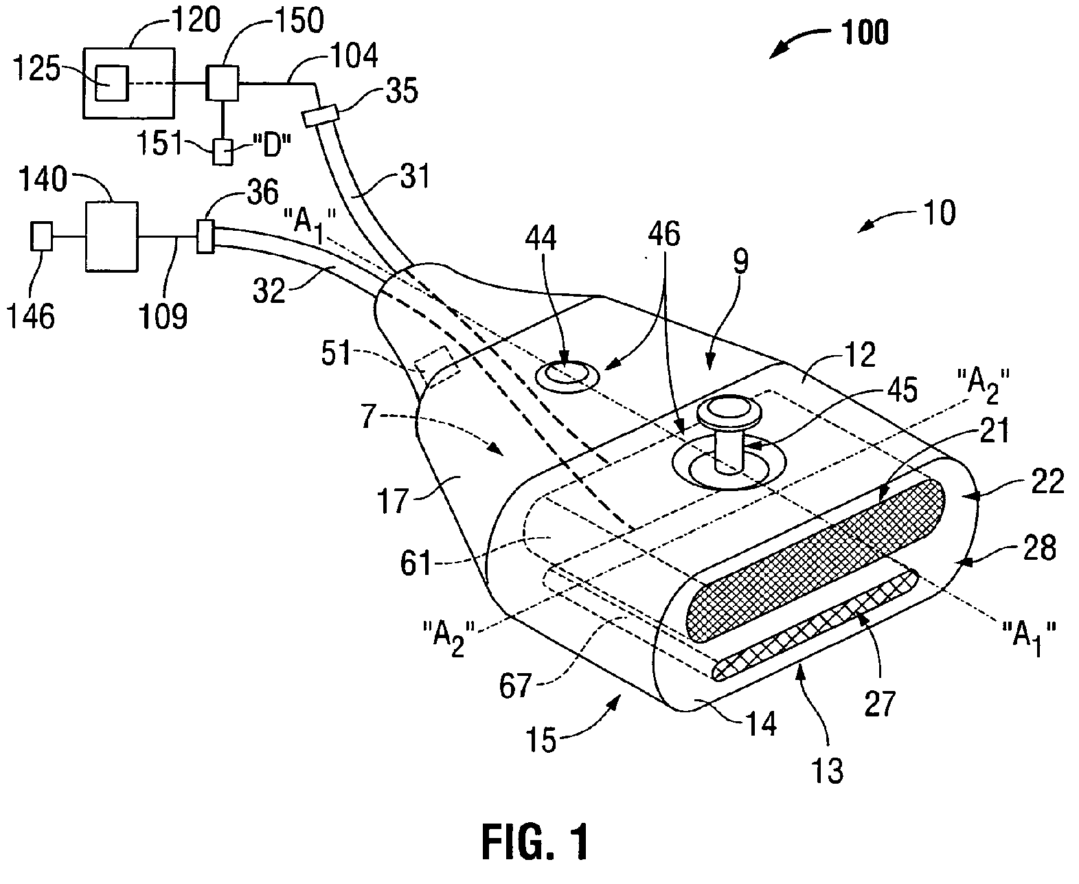
Energy delivery device including an ultrasound transducer array and a phased antenna array
授权日
1900-01-01
公开(公告)号
EP2489321A1
申请日
2012-02-15
公开(公告)日
2012-08-22
当前申请(专利权)人
COVIDIEN LP
发明人
BRANNAN, JOSEPH D.
简单同族
AU2012200877A1 | AU2012200877B2 | CA2768158A1 | CA2768158C | EP2489321A1 | EP2489321B1 | JP2012170822A | JP6104508B2 | US20120215103A1 | US8376948
简单同族成员数量
10
简单同族被引用专利总数
22
诉讼案件数
0
法律状态/事件
授权 | 权利转移
抱歉,您的浏览器不支持PDF预览,请点击链接下载PDF文件