专利数据库
统计分析
产业报告
专利数据监控
产业人才
行业动态
产业政策法规
维权援助
个人中心
详情
文本
图像
标题
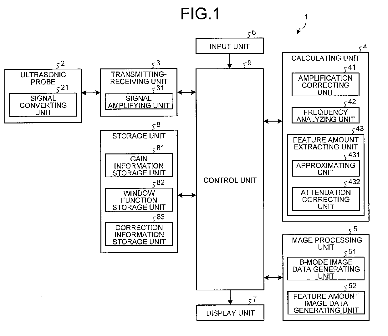
Ultrasound observation device, method for operating ultrasound observation device, and program for operating ultrasound observation device
授权日
1900-01-01
公开(公告)号
EP2591729A1
申请日
2012-03-27
公开(公告)日
2013-05-15
当前申请(专利权)人
OLYMPUS MEDICAL SYSTEMS CORP.
发明人
MIYAKI, HIRONAKA
简单同族
CN102958447A | CN102958447B | EP2591729A1 | EP2591729A4 | EP2842498A1 | JP5114609B2 | JPWO2012133878A1 | US20130113938A1 | US8619142 | WO2012133878A1
简单同族成员数量
10
简单同族被引用专利总数
30
诉讼案件数
0
法律状态/事件
驳回
抱歉,您的浏览器不支持PDF预览,请点击链接下载PDF文件