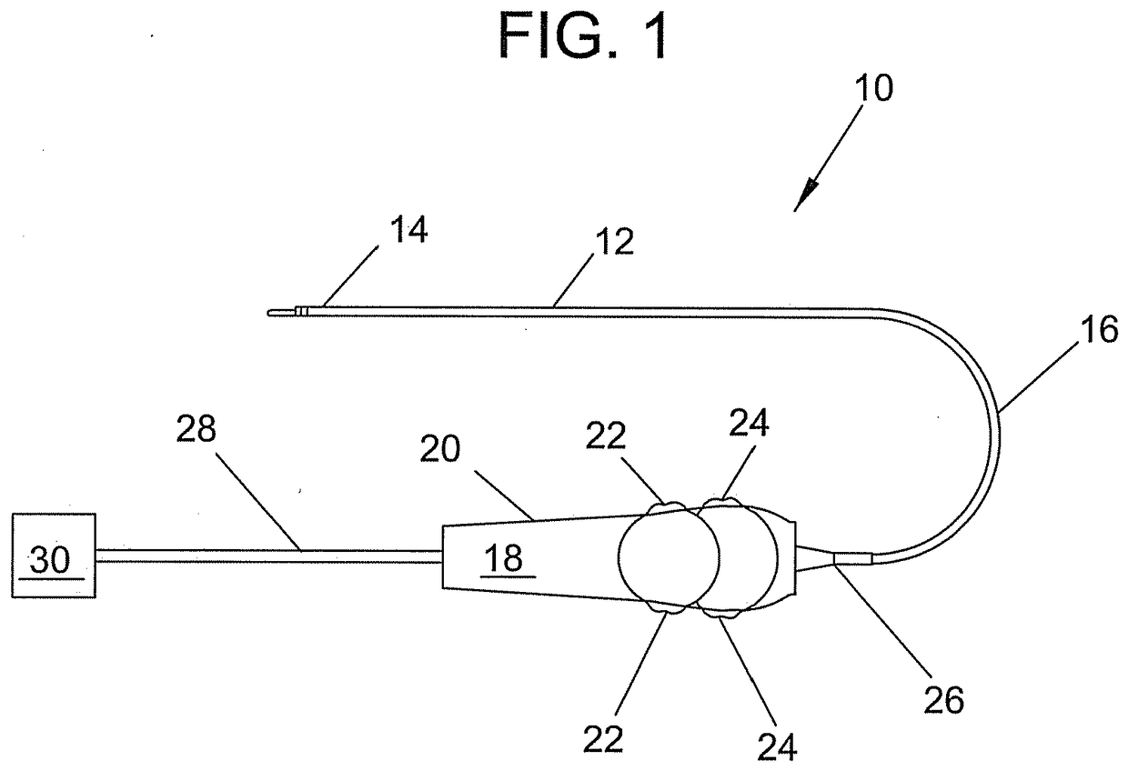
Ultrasound catheter and hand-held device for manipulating a transducer on the catheter's distal end
授权日
2018-06-27
公开(公告)号
EP2001359B1
申请日
2007-04-04
公开(公告)日
2018-06-27
当前申请(专利权)人
VOLCANO CORPORATION
发明人
WALKER, BLAIR, D. | HOSSACK, NORMAN, HUGH | HUENNEKENS, RICHARD, SCOTT | ARCIA, ROVIL, RAE PASCUAL | HEFLIN, ERNEST, W. | DAVIES, STEPHEN, C. | KLOSINSKI, RICHARD | LEUNG, CHAK, M.