专利数据库
统计分析
产业报告
专利数据监控
产业人才
行业动态
产业政策法规
维权援助
个人中心
详情
文本
图像
标题
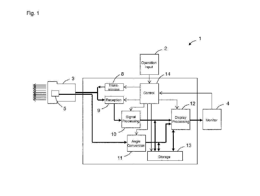
Ultrasound diagnostic apparatus and ultrasound diagnostic system
授权日
1900-01-01
公开(公告)号
EP2638859A1
申请日
2011-10-27
公开(公告)日
2013-09-18
当前申请(专利权)人
KONICA MINOLTA, INC.
发明人
KIMOTO, TAKASHI | SATAKE, KATSUMI | FUKAI, SEIICHI | UCHIKAWA, SATORU | HIRASAWA, HAJIME | KIMURA, MASAO
简单同族
CN102843973A | CN102843973B | EP2638859A1 | EP2638859A4 | JP5842810B2 | JPWO2012063420A1 | US20130018263A1 | US9498185 | WO2012063420A1
简单同族成员数量
9
简单同族被引用专利总数
24
诉讼案件数
0
法律状态/事件
撤回 | 权利转移
抱歉,您的浏览器不支持PDF预览,请点击链接下载PDF文件